Стены из монолитного бетона
Преимущества использования стеновой опалубки.
Заводские опалубочные системы и разнообразные способы строительства содействовали развитию монолитного домостроения. Монолитные стены из железобетона стали широко применяться и в малоэтажных зданиях, и главная причина их нарастающей популярности – долговечность.
Строительство малоэтажных домов из монолитного бетона происходит прямо на строительной площадке. Устанавливается съемная щитовая опалубка для стен, которая повторяет контуры строения. В настоящее время существуют большое количество стеновых опалубочных систем. Стеновую опалубку в аренду можно недорого взять в нашей компании. В установленную стеновую опалубку слоями заливают бетонную смесь. Предварительно необходимо выполнить армирование. Заливку бетона в опалубку производят с таким интервалом времени, который не допускает схватывания бетона, чтобы не допустить образования швов.
Применение стеновой опалубки позволяет создать стену, состоящую из трех слоев:
- Слой железобетонный монолитный
- Наружный слой из облицовочного кирпича
- Внутренней слой из штукатурки
По конструкции монолитные стены похожи на стены, возведенные из сборного железобетона.
Отличие в том, что последние состоят из отдельных конструктивных элементов, которые изготавливаются на домостроительных комбинатах, а на стройплощадках их монтируют, использую тяжелую грузоподъемную технику, что конечно существенно удорожает стоимость строительства. Здания, построенные из монолитного железобетона, представляют собой целостную конструкцию, работающую как единая пространственная конструкция.
Съемная опалубка для стен бывает рамной и балочной. Её высота колеблется от 0,6 до 3,3 метра, ширина от 0,25 до 1,2 метра. Использование стеновой опалубки значительно расширяет возможности архитекторов при проектировании домов.
Расстояние между опалубочными щитами определяется толщиной будущей стены. Между собой щиты скрепляются шпильками с гайками. Заливку бетоном осуществляют с помощью бетононасоса слоями по полметра и обязательно используют вибратор, особенно в углах. После набора бетоном прочности опалубку стен переставляют на следующий по высоте уровень. После снятия опалубочных щитов можно приступать к утеплению минеральной ватой, пенополистеролом и так далее.
Толщину несущих монолитных стен не обязательно делать большой, свою ограждающую и теплоизолирующую функцию они выполнят в достаточной степени и при небольшой толщине. Например, для 2-х этажного дома по расчету на прочность хватит толщины стены в 12 см, это равносильно толщине кирпичной стены в 25 см, толщине пенобетонной стены в 63 см, газобетонной в 40 см. Это является большим преимуществом по стоимости затрат по материалам, по трудозатратам, кроме того, экономятся средства и на возведение фундамента для таких тонких стен. Один квадратный метр монолитной стены толщиной 12 см весит всего порядка 300 кг, вес кирпичной стены толщиной 25 см – порядка 500 кг, что позволяет применить более легкий фундамент для стен из монолитного бетона.
Монолитные стены отличаются наибольшей долговечностью, так как на них менее всего воздействуют погодные условия и надежностью, из-за того, что в монолитном домостроении нет открытых связующих элементов, подвергающихся коррозии.
Монолитные дома отличаются высокой пожаробезопасностью и устойчивостью к погодным катаклизмам.
Устройство монолитных стен. Технология, ее плюсы и минусы, технологическая карта
Технология устройства монолитных стен при возведении зданий, построек и конструкций относится к категории наиболее распространенных способов современного строительства. Это обусловлено прочностью, надежностью и долговечностью сооружений, невысокой сметной стоимостью и возможностью быстрого выполнения работ.
Описание технологии монолита
Последовательность рабочих операций по установке опалубки, сборке армирующего каркаса, заливке бетонной смеси и последующему разопалубливанию, делают производственный процесс непрерывным, с отсутствием вынужденных технологических простоев. Монтаж бетонных стеновых конструкций допускается производить в любое время года, и даже при отрицательной температуре наружного воздуха.Все эти важные факторы привели к тому, что устройство монолитных железобетонных стен стало все чаще применяться при возведении жилых домов на объектах индивидуальной застройки.
При этом практикуются три различных способа:
- монтаж бетонного каркаса с наружными стенами из штучных каменных материалов или сборных панелей;
- возведение несущих ограждающих конструкций из монолитного железобетона без вертикальных опорных колонн;
- совмещение двух вышеперечисленных вариантов.
В каждом случае изготовление элементов зданий производится непосредственно на строительной площадке по месту его установки. Бетонные стены, выполненные по монолитной технологии, достаточно прочны и долговечны, но имеют малопривлекательный внешний вид и требуют обязательного выполнения отделочных работ.
Преимущества и недостатки
| Плюсы | Минусы |
| Высокая скорость возведения зданий | Трудоемкость процесса |
| Прочность конструкции | Низкая энергоеффективность здания |
| Высокая этажность (не относится к технологии несъемной опалубки) | Необходимость финишной отделки |
| Низкая стоимость |
Принципы возведения монолитных стен, перегородок и ограждений
Основными этапами строительства, которые предусматривает технологическая карта на устройство монолитных стен, являются:- монтаж щитовой опалубки;
- сборка и установка арматурного каркаса;
- заливка бетонной смеси с виброуплотнением;
- снятие опалубки с готовой конструкции.

При наличии несущего каркаса с вертикальными колоннами для изготовления его элементов применяют бетон марок М300 и М400. Наружные стены в этом случае весовых нагрузок не несут и заливаются более дешевым материалом марок М200 и М250, с возможным добавлением легких наполнителей для улучшения теплоизоляционных свойств. Если бетонная стена используется в конструкции здания, как несущий элемент, то марка бетонной смеси должна быть не менее М350.
Определение толщины стен
Размер поперечного сечения бетонной монолитной стены зависит от ее конструкционного назначения, расчетной температуры наружного воздуха, наличия вида утеплителя. Устройство монолитных стен для внутренних перегородок определяется наличием плоской арматурной сетки и обязательного бетонного покрытия по 50 мм с каждой стороны. Соответственно минимальная толщина таких элементов равна 100 мм.
Наружные ограждающие стены в зависимости от расчетной температуры наружного воздуха имеют минимальную толщину:
- при -20°C – 250 мм;
- -30°C – 350 мм;
- -40°C – 450 мм.

Это обеспечит величину нормативного коэффициента теплопроводности материала и сохранение тепла в доме, что является важным аспектом в его энергоэффективности.
Сравнение теплопроводности бетона и других материалов.
Толщина бетонных стен, выполняющих роль несущей конструкции не должна быть менее 450 мм для одноэтажных домов с добавлением 100 мм при возведении каждого верхнего этажа. Например, для 3-х этажного дома минимальная толщина стен первого этажа составит 650 мм, для второго – 550 мм, а третьего 450 мм.
Выбор и монтаж опалубки
Опалубка представляет собой систему ограждающих конструкций из листовых материалов, предназначенную для формирования бетонного монолита в соответствии с проектными размерами. Средний вес 1м3 бетона около 180 кг. Поэтому устройство опалубки монолитных стен и перекрытий должно быть прочным настолько, чтобы выдерживать создаваемые весовые нагрузки при заливке смеси. Кроме этого установленная форма должна обеспечить полную герметичность рабочего шва.
Утечка жидкости и уменьшение влагосодержания бетона увеличат время гидратации цемента и приведут к снижению качества материала.Лучший вариант комплекта для опалубки монолитных стен состоит из штатных щитов заводского изготовления и набора элементов фиксирующего инвентаря. Стоит такая опалубка очень дорого, но строительные компании очень часто предлагают свой инвентарь на прокат. Воспользоваться такой услугой будет вполне оправдано и более дешево, чем покупать доски или фанеру, которые к окончанию работ полностью придут в негодность.
Монтаж штатной опалубки довольно прост и может выполняться рабочим звеном из 3-4 человека. Щиты соединяются в единую поверхность при помощи зажимных или клиновых замков, гарантируя плотное соединение стыков и герметичность конструкции. Устойчивая фиксация опалубки обеспечивается путем установки наклонных откосов и стоек. Точность геометрических размеров и прочность при установке достигается с помощью стяжных винтов.
Несъемная опалубка
При возведении наружных стен зданий, ленточных и плитных фундаментов применяют технологию установки несъемной опалубки.
В этом случае в качестве наружной палубы для заливки бетона с одной стороны стены устанавливают листы пенополистирола. После твердения смеси утеплитель не убирают и он остается в качестве эффективной тепловой и гидроизоляции.Этот способ позволяет хорошо утеплить здание и снизить расход бетона за счет уменьшения толщины стен. При большой высоте конструкции и одновременной заливке большой массы бетона потребуется принятие дополнительных мер для обеспечения прочности пенополистирольного ограждения.
В качестве другого варианта несъемных формирующих ограждений при устройстве железобетонных стен ленточных фундаментов и подвала может выступать каменная кладка из полнотелого или клинкерного кирпича. Однако такие виды опалубки из новых материалов обходится значительно дороже и его применяют в тех случаях, когда в наличии есть утилизированный кирпич вторичного применения.
Армирование конструкции
Для повешения прочности монолитной конструкции применяется специальная система армирования бетона путем установки конструкций из металлических или полимерных прутов специального назначения.
В зависимости от толщины стены армирующий каркас может быть выполнен в виде плоской сетки или пространственной конструкции с расположением арматурных струн в несколько рядов.
Минимально допустимый диаметр продольных арматурных прутов из стали составляет 10 мм, поперечная перевязка не менее 8 мм. Полимерная стеклопластиковая арматура может применяться на один стандартный размер меньше, чем металл. Шаг поперечных вставок не более 250 мм. Это обеспечит нормальную фиксацию продольных прутов и неподвижную форму всей конструкции.
Соединение всех армирующих элементов между собой производится при помощи вязальной проволоки. Применение электросварки допускается только в крайних случаях, так как при сильном нагреве и последующем остывании физико-механические свойства арматурной стали могут ухудшиться.
Заливка бетона
После установки опалубки и сборки армирующего каркаса приступаю к заливке бетонной смеси внутрь подготовленной формы. Технологическая карта устройства монолитных стен предусматривает выполнение этой работы за один раз и поэтому лучше воспользоваться услугами централизованных поставок бетона с завода строительных материалов.
Наличие бетононасоса на автомобильном миксере значительно облегчит подачу бетонной смеси через верх опалубочной конструкции.Заливка производится слоями по 50-70 см с обязательным уплотнением смеси при помощи вибрационного инструмента. Остановка работ, приводящая даже к частичному высыханию верхнего слоя, не допускается, так как это приводит к нарушению прочности стены. Снятие опалубки после заливки бетона производится не ранее чем через 72 часа в летнее время и 96 часов зимой. Более подробно о том как правильно заливать бетон можно почитать здесь.
Видео обзор технологии
В заключение
Применение монолитного железобетона в строительстве имеет существенные преимущества в сравнении с другими материалами и технологиями. Это, прежде всего, скорость выполнения работ и прочность изготовленных конструкций. Довольно простая технология производства работ позволяет выполнять монтаж без привлечения профессиональных бригад и строительных компаний.
Все это привлекает внимание индивидуальных застройщиков и служит дальнейшей популяризации данной технологии.
как построить монолитный дом самому
Современные материалы, из которых можно построить жилье сегодня удивляют своим многообразием. Архитекторы предлагают уйму проектов, сочетающих в себе различные материалы. А производители предлагают купить готовые проекты, которые собираются прямо на стройплощадке из заранее промаркированных деталей. Однако монолитные стены по технологии полностью производятся на стройплощадке, когда бетон заливают в заранее выставленную опалубку. О том, как построить монолитный дом своими руками мы постараемся разобраться в этой статье.
Достоинства и недостатки монолитного строительства
Преимущества
Монолитные стены полностью производятся на стройплощадке, когда бетон заливают в заранее выставленную опалубку
- Прочность и устойчивость к разрушениям. Монолитная конструкция, благодаря своей целостности имеет высокую устойчивость к различным сдвигам грунта, землетрясениям и промоинам.

- Криволинейное строительство. Благодаря тому, что опалубку можно устанавливать с любыми искривлениями линий. Построить дом из монолита с замысловатостью стен — задача вполне осуществимая.
- Целостность стен. Отсутствие швов делает коробку здания более теплой.
- Всепогодность строительства. Современные материалы позволяют проводить монолитные работы в любое время года и на любом грунте.
- Быстрое строительство.
- Относительно низкие затраты финансов.
- Равномерность усадки. Построенный монолитный каркас здания не дает трещин, благодаря равномерности усадки.
- Любой вариант междуэтажного перекрытия. Его можно сооружать из монолитного бетона, из плит или дерева.
- Легкие бетонные растворы. Вы можете не сооружать тяжелый заглубленный фундамент, если в раствор бетона добавлены утепляющие добавки: шлак, керамзит, перлит, опилки и т.д.
- Отделка и утепление различными материалами. Можете выбрать любой, подходящий для вас материал.

- Теплая несъемная опалубка. Если вы строите стены при помощи несъемной опалубки, то дополнительное утепление не требуется, да и толщина стен значительно уменьшается. Кроме этого, создается хорошая звукоизоляция помещений.
Недостатки
При строительстве многоэтажного дома, вам потребуется растворонасос или бетононасос
- При строительстве многоэтажного дома, вам потребуется растворонасос или бетононасос. Эта специализированная техника используется для заливки смеси бетона на высоте. Поэтому это становится накладно, если вы строите самостоятельно.
- Заливка монолитных плит перекрытия требует установки специальных лесов.
- При использовании несъемной опалубки потребуется обустройство приточно-вытяжной вентиляции из-за высокой влажности воздуха в доме. Так как несъемная конструкция – это теплоизоляция стен, которая обладает нулевой паропроницаемостью, а следовательно, постоянно образуется конденсат.
- Эксклюзивные и сложные проекты могут потребовать изготовления особенной опалубки, а это дополнительные затраты времени.

- Обязательное оштукатуривание стен из несъемной опалубки. Это связано с низкой экологичностью основного материала несъемной опалубки – пенополистеролом. Этот материал при сгорании выделяет очень токсичные для человека вещества, не смотря на то, что затухает через 2 минуты после воспламенения.
- Железобетон имеет металлическое армирование и требует обязательного заземления всего дома.
Совет! Если возводить стены без использования несъемной опалубки, и производить монолитные работы из теплого бетона, а утепление сделать экологичными материалами, то можно получить свой комфортный, недорогой и теплый дом.
Виды опалубки при монолитном строительстве
Монолитное строительство всегда осуществляется при помощи опалубки
Монолитное строительство всегда осуществляется при помощи опалубки. В зависимости от области применения существуют такие виды опалубки:
- Для фундамента. Устанавливается на горизонтальные подпорки и подкосы;
- Для стен.
Устанавливается с помощью кронштейнов, стоек и соединительных замков; - Для потолочных перекрытий. Настилается на подготовленную конструкцию из объемных подпорных или телескопических стоек;
- Туннельная;
- Для кольцевых стен с измененным радиусом.
Используя различные сочетания видов опалубки, монолитные работы можно проводить для любых элементов конструкции будущего здания.
Съемная опалубка
Съемный вид опалубки изготавливают из стали, пластика, древесины, алюминия и других материалов
Съемный вид изготавливают из стали, пластика, древесины, алюминия и др. Различный материал, из которого изготавливается опалубка, требует индивидуального подхода при эксплуатации. Например, фанерная — должна хранится в сухом месте. Для проделывания отверстий в фанере или распиле, чтобы не повредить ламинирование и шпон, необходимо использовать пилу с мелкими зубьями. Отверстия под кабели и трубы нужно проделывать с двух сторон.
Совет! Для того, чтобы съемная опалубка легко отставала от застывшего бетона, ее нужно обработать специальным раствором.
Несъемная опалубка
Данный вид опалубки состоит из пенополистерола, готов к применению и не требует дополнительной обработки. Производители выпускают в продажу всевозможные конфигурации: продольные, угловые, надоконные и подоконные и т.д. Сооружение съемной опалубки напоминает сборку конструктора, который потом заливается бетон.
Технология монолитного строительства
На сегодняшний день строителями используется две технологии возведения монолитных стен. Каждая обусловлена типом опалубки, который применяется:
Рекомендуем к прочтению:
- съемная — конструкция разбирается после затвердения бетона;
- несъемная — демонтаж которой не предусмотрен.
Монолитные стены со съемной опалубкой
Съемную опалубку можно использовать многократно
Съемную опалубку можно использовать многократно. Как правило, сборная опалубка изготавливается из металла или (и) древесины: металлические щиты крепятся на деревянный каркас.![]()
Совет! Самый недорогой вариант — опалубка, которая сколачивается прямо на стройплощадке из досок или фанеры.
Форма выставляется на ширину будущей стены и высоту слоя бетона (20-200 см), который заливается одномоментно, как в форму.
Строительство стен с помощью съемной опалубки:
- Сборка и установка опалубки. Для этого собираются щиты из брусков и досок толщиной до 50 мм. Панели опалубки выставляются противоположно друг другу щитом к щиту, и расстояние между ними фиксируется брусками-распорками. Противоположные панели скрепляются стяжными болтами или скруткой из проволоки. Далее, устанавливаются распорные откосные стойки с шагом 1 м.
- Армирование. Конструкцию стен для надежности армируют, путем установки в опалубку каркас из арматуры или армированную сетку (стальную или пластиковую).
- Заливка бетона. Опалубку заливают бетонной смесью послойно (не более 50 см за раз). Затем только что залитую смесь уплотняют глубинным вибратором.
После того как слой бетона застыл, опалубку переставляют выше, для заливки следующего слоя. Так повторяют возведения необходимой высоты стены.
Опалубку заливают бетонной смесью послойно (не более 50 см за раз)
Бетон набирает достаточную прочность для выполнения последующих работ в течение пяти недель. Только по прошествии этого срока можно начинать утепление стен и фасадные отделочные работы.
Внимание! Строительство по технологии со съемной опалубкой требует обязательного дополнительно утепления стен. Это связано с тем, что каркас из металлической арматуры 8-18 мм создает так называемые «мостики холода». И, если вы хотите, чтобы в доме было тепло, то точка нуля должна как минимум находиться ближе к внешней поверхности стены, а лучше вообще за её пределами (в слое утеплителя).
Есть вариант создания более теплых стен с применением смесей с меньшей теплопроводностью (например, пенобетон, газобетон, керамзитобетон, шлакобетон или перлитобетон).
Однако эти материалы менее устойчивы к нагрузкам и разрушению (подходят для зон с минимальной сейсмоактивностью).
Используя технологии мокрого или вентилируемого фасада, стены можно утеплять минеральной ватой, «теплой» штукатуркой, пенополистиролом, экструдированным пенополистиролом.
Рекомендуем к прочтению:
Кроме такого утепления, можно использовать метод колодцевого фасада. Заключается он в том, что с наружи бетонной стены с небольшим отступом от нее делается кладка из кирпича или плитки, а в образовавшийся зазор заполняется утеплителем: эковатой, керамзитом и др.
Монолитные стены с несъемной опалубкой
Несъемная опалубка – это блоки или панели выполненные из различных материалов, которые монтируются в конструкцию, армируются и затем заливаются бетоном
Несъемная опалубка – это блоки или панели выполненные из различных материалов, которые монтируются в конструкцию, армируются и затем заливаются бетоном. После того, как застывает бетонная смесь, конструкция не снимается, выполняя функцию утеплителя.
Термоблоки из вспененного полистирола – самый популярный вид несъемной опалубки на сегодняшний день.
Строительство стен с помощью несъемной опалубки:
- Установка опалубки. Блоки опалубки из пенополистирола выкладываются на поверхность фундамента, при этом их соединяют в замки «шип-паз», которые обеспечивают прочность конструкции и не дают бетону вытекать. Для одной заливки блоки выкладываются на высоту до 50 см (иначе раствор будет плохо застывать).
- Армирование конструкции. Внутри блоков предусмотрены специальные пазы для закладки горизонтальных армирующих стержней. После их установки, проводят армирование по вертикали. В местах соединения вертикальные и горизонтальные стержни между собой соединяют вязальной проволокой.
- Заливка в опалубку бетона. Бетонная смесь заливается одномоментно на высоту выстроенной опалубки и сразу уплотняется глубинным вибратором. Пока бетон застывает, можно начинать выкладывать следующий ряд опалубки. Как правило, время на выкладку следующего ряда опалубки равно времени застывания бетона в предыдущем ряду, поэтому процесс возведения стены практически проходит без остановок.

- Отделочные работы. Для отделки монолитных стен с несъемной опалубкой можно использовать практически любые материалы. Это необходимо для защиты пенополистирола от различных повреждений.
Внимание! Теплые смеси нельзя использовать в технологии с несъемной опалубкой из пенополистирола. Для этого годится только бетон. Это связано с тем, что пенополистерол – материал «не дышащий», а теплые смеси, напротив, обладают высокой паропроницаемостью, в результате между слоями будет скапливаться конденсат — хорошая среда для развития плесени и грибка.
Виды растворов бетона для монолитного строительства
В монолитном строительстве используются бетонные растворы с различной теплопроводностью и паропроницаемостью
В монолитном строительстве используются бетонные растворы с различной теплопроводностью и паропроницаемостью.
- Бетон. Холодный и требует обязательного утепления.
- Железобетон. Требует дополнительного утепления, поскольку армированный каркас «тянет» на себя холод.

- Керамзитобетон. Теплый, а степень сохранения тепла и паропроницаемость висит от плотности раствора.
- Шлакобетон. Менее прочный, чем керамзитобетон.
- Опилкобетон. Представляет собой смесь: цемента, воды, песка и древесных опилок. Требует покрытия слоем гидроизоляции. Достаточно прочен, экологичен, сохраняет тепло.
- Арболит. Похож на опилкобетон, только вместо опилок здесь древесная щепа.
- Пенобетон – смесь цемента, воды, песка и образователя пены. Теплый и «дышащий» материал.
Монолитный дом — что это такое, плюсы и минусы монолитно-каркасных и монолитно-кирпичных домов, что лучше
Особенности технологииВ качестве фундамента для монолитных сооружений отливается армированная бетонная плита толщиной около 1 м, которая, в процессе строительства, бесшовно соединяется со стенами. В зависимости от особенностей почвы, в качестве дополнительных опор под фундаментной плитой могут устанавливать сваи.
Чтобы увеличить прочность конструкции, бетонную массу армируют — погружают в нее металлические стержни или сетки. Из стальных арматурных стержней различного диаметра сваривают или связывают арматурные каркасы будущей конструкции. Дополнительные несущие элементы препятствуют растрескиванию бетона, увеличивают его стойкость к растягивающим нагрузкам, повышают сейсмическую стойкость дома.
Чтобы устранить пустоты внутри монолита бетонную смесь в процессе укладки уплотняют глубинными вибраторами. Булаву вибратора погружают в бетонную смесь до тех пор, пока на поверхности не перестают появляться пузырьки воздуха.
Техники монтажа опалубки🔹 В зависимости от материала: из алюминия, стали, пластика, для обустройства первых опалубок использовали дерево.
Интересно! Большинство строительных компаний используют опалубку из современного синтетического и недорогого материала – пенополистирола.
🔹 По форме элементов для обустройства опалубки: щитовая — форму для заливки собирают из отдельных щитков, поэтому форму и размеры конструкции можно корректировать на строительной площадке в процессе строительства; тоннельная — собирается из готовых элементов заданного размера, который установлен проектом и не подлежит корректировке.
🔹 По возможности повторного использования: съемные формы, которые демонтируют после застывания бетона и используют повторно, и несъемная опалубка, которая застывает в растворе и становится частью конструкции.
Интересно! Несъемные формы для раствора чаще используют при частном малоэтажном строительстве. При возведении крупных комплексов такая техника не экономична.
Формы для заливки собирают как вручную, так и при помощи специального оборудования. Разные варианты формы и сборки опалубок позволяют возводить дома любой конфигурации, этажности, по индивидуальным и типовым проектам.
Чтобы увеличить количество циклов использования опалубки и улучшить качество бетонной поверхности перед укладкой раствора формы смазывают техническим маслом — эмульсолом.
Этапы строительства монолита🔰 Поэтажный монтаж арматурного пояса для фундамента, стен, перекрытий;
🔰 сборка опалубки — формы для заливки бетона;
🔰 заливка и уплотнение бетонного раствора;
🔰 демонтаж опалубки при использовании съемных щитков;
🔰 дополнительные операции — в летнее время — защита от преждевременного высыхания, зимой и осенью — защита от осадков и замерзания.
толщина, опалубка, армирование, усиление проемов, как сделать своими руками
Монолитные стены – ограждающая конструкция в системе монолитно-каркасной технологии. Сочетание бетона и металлической арматуры даёт хорошие эксплуатационные качества при невысокой стоимости.
Преимущества и недостатки
Монолитно-каркасная технология имеет следующие преимущества:
- здания возводятся в сжатые сроки;
- единая конструкция без швов прочна и надёжна, непродуваема, мостиков холода не образуется;
- помещения монолитных домов имеют свободную планировку;
- легко выполняются сложные архитектурные арочные, криволинейные элементы;
- повышенный срок эксплуатации монолитных железобетонных строений;
- ровная гладкая поверхность стен отделывается без подготовительных работ.
К недостаткам монолитных стен относят низкую звукоизоляцию, обязательное утепление стены, способность бетона проводить вибрацию.
Минимальная толщина
Основная задача стены, как ограждающей конструкции – сохранять тепло.
Толщина наружной стены регулируется теплотехническим расчётом, принимается от расчётных значений температур климатического района, зависит от выбранных материалов утепления и отделки.
Размер всегда задан проектом, отступать от него не рекомендуется. Толщина монолитной бетонной стены варьируется от 250 до 450 мм, при расчётной температуре климатического района от -20 до -40 град. Внутренние стены проектируют однослойными.
Толщина стены из монолитного железобетона всегда меньше стены из кирпичной кладки, что увеличивает площадь помещений при прочих равных значениях.
Устройство своими руками
Технология возведения монолитных стен не требует специальных навыков и умений. С составом работ по силам справиться звену из 2-3 человек. Домашний мастер с помощником сэкономит на оплате рабочим.
Опалубка
Монолитные стены возводятся с помощью опалубки – строительной конструкции, представляющей собой форму для заливки бетонной смеси.
Опалубка бывает двух видов: съёмная и несъёмная. Съёмная опалубка переставляется в процессе заливки, удаляется после набора прочности бетоном.
Несъёмная форма остаётся частью стены, дополняя бетон нужными качествами. Самые распространённые опалубки из вспененного полистирола выполнены в виде блоков. Блоки соединяются замками. Пенополистирол с бетоном образует трёхслойный пирог, утепляет бетонный слой, звукоизолирует конструкцию.
Армирование
Армирующий каркас устанавливается в переставную опалубку сразу после сборки. В несъемной опалубке арматура просчитана и установлена производителем.
На монолитную стену действуют сжимающая и изгибающая нагрузки. На сжатие работает бетон, деформацию изгиба воспринимает арматура.
Каркас монолитной стены двойной.
В малоэтажном строительстве допустимо применять сетки из арматуры сечением 8 мм.
Рифлёное сечение прутов хорошо сцепляется с бетонной смесью, гладкие пруты анкерятся загибами на концах.
Выход арматуры на поверхность не допускается. Максимальный шаг продольной арматуры в сетке 25 см.
Поперечный шаг ограничен расстоянием 35 см. Длины стержней продольной арматуры подбирают на всю высоту конструкции.
Если по каким-то условиям обойтись без стыка невозможно, арматуру соединяют внахлёст, без применения сварки. Длина нахлеста зависит от диаметра арматуры и указана в архитектурном проекте дома. Сварные стыки ломаются при вибрации, вызванной уплотнением бетона.
Усиление проёма
Любой проём ослабляет сечение конструкции, становится уязвимым местом. Периметр оконных, дверных проёмов дополнительно укрепляется.
[stextbox id=’alert’]Важно! Неверное армирование проёмов приводит к растрескиванию и деформации монолитной конструкции.
[/stextbox]
Толщина и количество арматурных прутов будут зависеть от ширины проёма, приложенной нагрузки и принимаются согласно проектного значения. Армируются горизонтальные и вертикальные плоскости. При укладывании бетонной смеси опалубку подпирают до достижения необходимого отвердения.
Заливка
Самостоятельные работы по возведению стены начинаются со сборки опалубки. В собранную из щитов форму устанавливается каркас из арматурных стержней, затем заливается бетонная смесь.
Очерёдность заливки стен зависит от типа опалубки:
- несъёмную опалубку заполняют от пространства под оконными проёмами по направлению к углам здания;
- съёмную форму заливают рядами, на высоту не более 50 см за раз (для лучшего уплотнения бетонной смеси).
[stextbox id=’alert’ defcaption=»true»]В переставной опалубке залитому бетону не дают полностью схватиться для того, чтобы получить монолитную конструкцию без швов.[/stextbox]
В обоих случаях тщательно наполняются и вибрируются углы.
При подаче бетона механизированным способом скорость движения смеси снижают для качественной заливки, уменьшая сечение рукава.
Бетон уплотняется вибратором, в зависимости от времени года осуществляется уход. Зимой раствор прогревается, летом, в жаркую погоду, железобетон поливают водой, предотвращая растрескивание. От осадков открытая часть формы закрывается полиэтиленовой плёнкой.
[stextbox id=’info’ defcaption=»true»]После окончания бетонных работ необходимо в обязательном порядке произвести проверку прочности бетона.[/stextbox]
Применение
Каркасно-монолитная технология одинаково успешно применяется во всех сферах строительства. Монолитные стены встречаются в многоэтажной застройке, частном секторе, общественных зданиях.
Технология востребована:
- при точечной застройке внутри квартала;
- недостатке места для разработки грунта под котлован;
- невозможности подъезда крупной строительной техники, башенных кранов;
- в районах с повышенной сейсмической активностью.

В индивидуальном домостроении применение монолитных стен экономит затраты на перевозку и хранение конструкций, погрузочно-разгрузочные работы.
Полезные видео
Подробно и понятным языком объясняется весь процесс устройства монолитных стен в своем доме:
[yvideo number=»OTFUAoPkKTQ»]
Сборно-монолитная стена, подробности в видео ниже:
[yvideo number=»R2w9rWo2cos»]
Посмотрите процесс заливки бетона в опалубку при устройстве стен, используется автомиксер с насосом:
[yvideo number=»bgiS6IjnRMc»]
Монолитные стены из железобетона – новое, весомое слово в современном строительстве.
СТЕНЫ ИЗ МОНОЛИТНОГО БЕТОНА
- Подробности
- Категория: АРХИТЕКТУРНО-КОНСТРУКТИВНОЕ ПРОЕКТИРОВАНИЕ ЗДАНИЙ. Лекции.
Поможем написать любую работу на аналогичную тему
Получить выполненную работу или консультацию специалиста по вашему учебному проекту
Узнать стоимостьНаружные и внутренние стены из монолитного бетона при применении переставных опалубок возводятся одновременно или последовательно (сначала внутренние стены, а затем наружные или наоборот).
Внутренние монолитные стены рекомендуется проектировать однослойными. Наружные стены могут быть однослойными или слоистыми.
Для возведения несущих стен из монолитного бетона рекомендуется применять тяжелые бетоны класса не ниже В7,5 и легкие бетоны класса не ниже В5. В зданиях высотой четыре и менее этажей допускается в несущих стенах применять легкие бетоны класса В3,5. Для внутренних стен плотность легких бетонов должна быть не ниже 1700 кг/м3.
Монолитные однослойные наружные стены рекомендуется проектировать из легкого бетона плотной структуры. При межзерновой пористости бетона не более 3 % и класса бетона не ниже В3,5 в нормальной и сухой по влажности зонах допускается наружные стены проектировать без защитно-декоративного слоя. Наружные легкобетонные стены без защитно-декоративного слоя следует окрашивать гидрофобными составами.
Наружные однослойные стены рекомендуется проектировать из легких бетонов с плотностью не более 1400 кг/м3. При технико-экономическом обосновании в однослойных наружных стенах допускается применять легкие бетоны плотностью более 1400 кг/м3.
Слоистые наружные стены можно проектировать из двух или трех основных слоев. Двухслойные наружные стены могут иметь утепляющий слой с наружной или внутренней стороны. В трехслойных наружных стенах утепляющий слой располагается между бетонными слоями.
Двухслойные наружные стены с утеплителем с наружной стороны могут быть монолитными и сборно-монолитными.
Монолитные стены возводят в два этапа. На первом этапе в переставных опалубках из тяжелого бетона возводят внутренний слой стены, на втором — наружный слой из теплоизоляционного легкого монолитного бетона.
Сборно-монолитная стена состоит из внутреннего монолитного слоя, выполняемого из тяжелого бетона, и наружного слоя — из сборных элементов.
Двухслойная наружная стена с утеплением с внутренней стороны состоит из наружного монолитного бетонного слоя, внутреннего утепляющего слоя — из газобетонных блоков толщиной не более 5 см или из жестких плитных утеплителей (например, из пенополистирола) толщиной не более 3 см и внутреннего отделочного слоя (рис.
26, а).
Ограничение толщин утепляющих слоев связано с обеспечением нормального тепловлажностного режима стен.
Тяжелый бетон целесообразно применять при расчетных зимних температурах, не превышающих минус 7°С. В остальных случаях необходимо применять легкие бетоны.
Рекомендуется два варианта возведения наружных монолитных стен с утеплением с внутренней стороны:
сначала на внутреннем щите опалубки укладывают слой утеплителя, затем опалубку собирают и бетонируют слой из монолитного бетона. При этом можно применять некалиброванные по толщине плиты утеплителя;
плиты утеплителя устанавливают после бетонирования стен.
При этом необходимо применять калиброванные по толщине плиты утеплителя.
При проектировании двухслойных стен с утеплителем с внутренней стороны следует учитывать, что возведение таких стен проще, чем стен с утеплителем с наружной стороны, но их применение ограничивается условием отсутствия точки росы в пределах толщины утепляющего слоя.
Трехслойные наружные стены рекомендуется проектировать сборно-монолитными, состоящими из внутреннего несущего слоя монолитного тяжелого бетона и утепленной сборной панели-скорлупы, устанавливаемой с наружной стороны. Панель-скорлупу можно устанавливать до и после возведения монолитной части стены (рис. 26, б).
Допускается трехслойные наружные стены проектировать с наружными и внутренними слоями из монолитного бетона и утепляющим слоем из жестких плитных утеплителей (рис. 26, в).
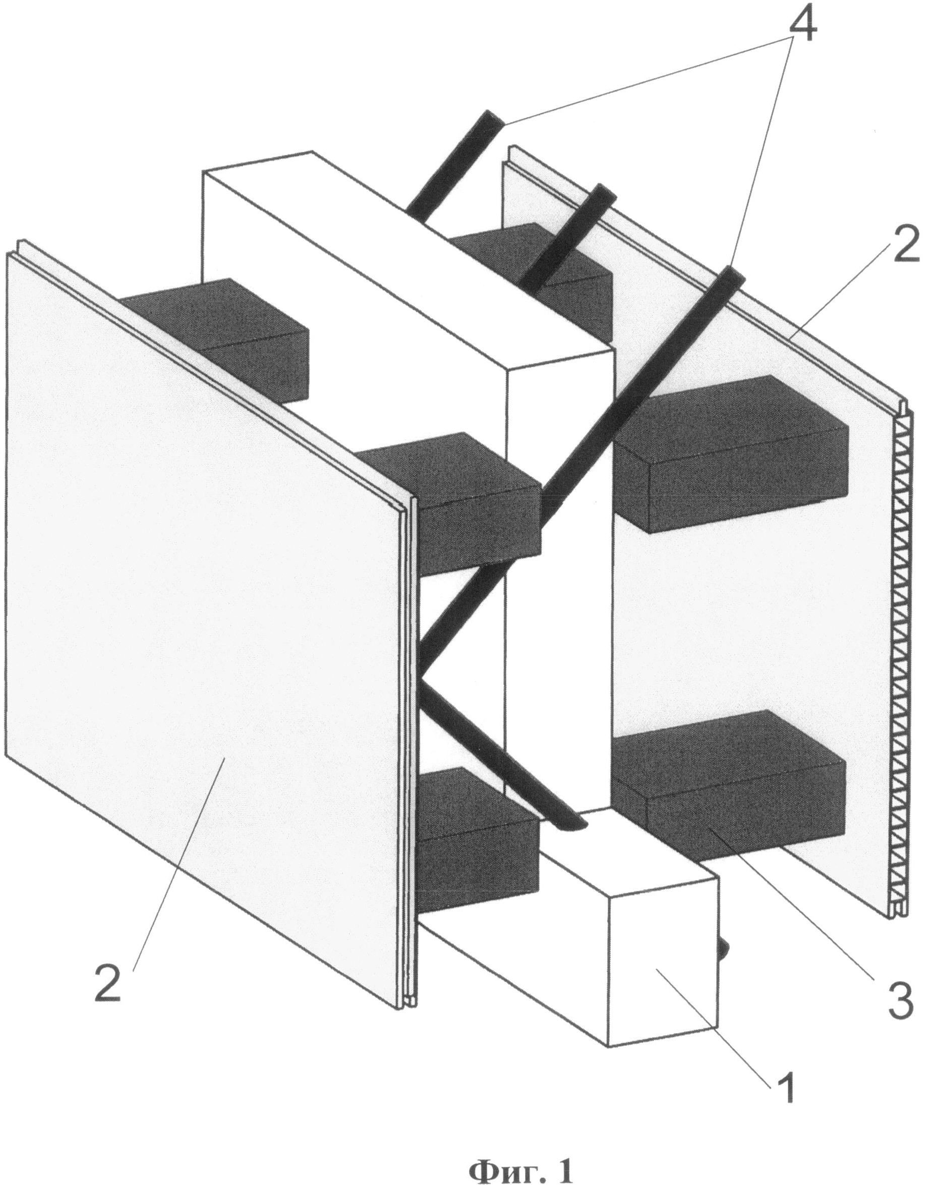
Рис. 26. Наружные стены монолитных зданий
а — двухслойная; б — трехслойная с наружным слоем из сборной панели скорлупы; в — то же, с внешними слоями из монолитного бетона
1 — блочная опалубка; 2 — панель-скорлупа; 3 — монолитный бетон стены; 4 — рабочие подмостки; 5 — крепежная система панели-скорлупы; 6 — утеплитель; 7 — связь; 8 — щиты опалубки; 9 — бадья; 10 — рассекатель;
11 — бетон
Стыкование вертикальных каркасов по высоте здания рекомендуется производить в уровне перекрытий внахлестку без сварки.
Величина перепуска определяется расчетом. При конструктивном армировании стен величина перепуска принимается не менее 200 мм независимо от диаметра вертикальной арматуры. При сборных перекрытиях стыкование арматурных каркасов рекомендуется производить сдельными стержнями, устанавливаемыми между торцами плит перекрытий.
Роль горизонтальной конструктивной арматуры в случае применения неразрезных монолитных, а также сборных и сборно-монолитных перекрытий, опертых по контуру или трем сторонам, выполняет конструктивная арматура в перекрытиях, расположенная параллельно стенам. В случае применения сборных балочных перекрытий рекомендуется устанавливать дополнительную горизонтальную арматуру в местах сопряжения их с монолитными стенами.
Для предотвращения образования сквозных вертикальных температурно-усадочных трещин рекомендуется назначать отношение длины стены к высоте этажа не более двух.
В случае, если длина стены превышает вдвое высоту этажа, то в глухих участках стен рекомендуется устраивать вертикальные технологические швы.
Внимание!
Если вам нужна помощь в написании работы, то рекомендуем обратиться к профессионалам. Более 70 000 авторов готовы помочь вам прямо сейчас. Бесплатные корректировки и доработки. Узнайте стоимость своей работы.
Монолитные стены из полистиролбетона
Перекрытие бетонное загородного дома
Строительство ленточного фундамента
Монолитный ленточный фундамент
Фундамент ленточный монолитный железобетонный
Строительство фундамента под дом
Фундамент загородного дома
Устройство котлована
Утепленная шведская плита
Уплотнение основания котлована
Разработка котлованов
Стойки опалубки монолитного перекрытия
Котлован для фундамента
Обратная засыпка котлована
Строительство фундаментов
Строительство фундамента дома
Перекрытие монолитное загородного дома из газобетона
Монолитный подвал загородного дома с бассейном
Армирование монолитных конструкций подвала
Монолитная железобетонная чаша бассейна загородного дома
Плитный фундамент
Котлован фундамента загородного дома
Монолитная плита
Строительство фундаментов с подвалом
Строительство фундаментов частных домов
Фундамент загородного дома
Плита ямы гаража
Шведская плита фундамент
Стены ямы гаража — армирование
Шведская плита под гараж
Монолитный фундамент
Плита перекрытия загородного дома
Фундамент монолитная плита
Монолитное перекрытие загородного дома бетонирование
Плита перекрытия загородного дома
Монолитное бетонное перекрытие гаража — опалубка
Монолитное бетонное перекрытие гаража — армирование
Строительство монолитного фундамента
Фундамент для дома из газобетона
Фундамент плита под дом из газобетона
Опалубка монолитной чаши бассейна
Монолитная фундаментная плита
Колонны монолитные железобетонные — опалубка и армирование
Столбчатый фундамент загородного дома
Опалубка монолитных колонн коттеджа
Монолитные колонны загородного дома
Геодезист на разметке фундамента загородного дома
Бетонирование колонн загородного дома
Фундамент ленточный загородного дома
Строительство монолитного каркаса загородного дома
Монолитная плита перекрытия
Монолитный фундамент под ключ
Строительство плиты перекрытия
Лестница монолитная загородного дома
Устройство плиты перекрытия
Плита перекрытия строительство
Шведский теплый плитный фундамент
Шведская фундаментная плита
Армирование плиты перекрытия
Фундамент УШП утепленная шведская плита
Монолитное перекрытие
Монолитные фундаменты для домов
Строительство монолитных домов
Строительство домов монолитных домов
Фундамент под дом из газобетона
Монолитный каркас частного дома
Монолитный дом под ключ
Строительство монолитного каркаса частного дома
Перекрытие монолитное частного дома
Монолитный каркас строительство
Монолитно каркасный дом
Монолитный каркас коттеджа
Фундамент с ростверком
Армирование монолитного перекрытия
Железобетонный каркас частного дома
Теплая шведская плита
Фундамент утепленная шведская плита
Строительство монолитного каркаса коттеджа
Железобетонный каркас загородного дома
Железобетонный каркас коттеджа
Железобетонный каркас строительство
Монолитный загородный дом
Монолитное строительство коттеджей
Строительство коттеджей монолит
Монолитный коттедж
Монолитная жб плита фундамент
Строительство подвалов
Подвал частного дома
Подвал загородного дома
Монолитная плита под дом
Строительство подвала частного дома
Устройство монолитной плиты фундамента
Строительство фундамента загородного дома
Устройство котлована под цокольный этаж
Монолитная плита под ключ
Устройство монолитной фундаментной плиты
Строительство цокольного этажа частного дома
Строительство стен цокольного этажа
Армирование цокольного этажа
Строительство цокольного этажа коттеджа
Цокольный этаж для загородного дома
Строительство монолитных стен
Строительство железобетонных стен
Строительство жб стен
Строительство стен цокольного этажа
Монолитный плитный фундамент
Стены цокольного этажа
Строительство плитного фундамента с ребрами жесткости вниз
Строительство цокольного этажа
Строительство цокольного этажа дома
Цокольный этаж для коттеджа
Строительство монолитных бассейнов
Строительство подвалов частных домов
Строительство плитного фундамента
Строительство монолитных цокольных этажей
Строительство монолитных подвалов
Монолитное строительство
Строительство монолитных перекрытий
Строительство монолитных домов
Строительство монолитных конструкций
Строительство цокольных этажей
Монолитные работы
Строительство домов монолитных домов
Бетонные работы
Строительство монолитных конструкций
Строительство перекрытий монолит
Цокольный этаж для частного дома
Устройство монолитных перекрытий
Строительство цокольного этажа загородного дома
Устройство плитного фундамента для частного дома
Подвал под монолитным фундаментом
Бетонирование монолитных перекрытий
Подвал под монолитным фундаментом
Устройство монолитного перекрытия
Строительство железобетонных перекрытий
Строительство монолитных фундаментов
Строительство монолитных лестниц
Стены подвального этажа монолитные
Цокольный этаж в частном доме
Монолитные железобетонные перекрытия
Армирование монолитного фундамента
Фундамент монолитного подвала
Стены монолитного подвала
Подвал с чашей бассейна
Плита с ребрами вверх
Плитный фундамент цокольного этажа
Плита с гидроизоляцией
Стены монолитные цокольного этажа
Перекрытие монолитное коттеджа
Колонны для дома из газобетона
Плита перекрытия дома
Утепленный цокольный этаж
Колонны для монолитного каркаса
Дом из газобетона с монолитным каркасом
Опалубка монолитного перекрытия
Армирование монолитного перекрытия
Монолитный каркас для дома
Фундамент плита с ребрами вниз
Строительство монолитного каркаса
Опалубка плиты перекрытия
Монолитный каркас для дома из блоков
Монолитный каркас на цокольном этаже
Строительство дома с монолитным каркасом
Монолитная лестница частного дома
Ленточный фундамент загородного дома
Плита фундамента
Монолитный цокольный этаж
Опалубка стен цокольного этажа
Фундамент плитный
Монолитные стены
Фундамент для дома из газобетона
Фундамент для монолитного каркаса
Показать ещеХозяйственные постройки .
.. — Ch5 Элементы конструкции: стены Хозяйственные постройки … — Ch5 Элементы конструкции: стены Стены Содержание — Предыдущая — Следующая
Стены можно разделить на два типа:
a Несущие стены, которые выдерживают нагрузки от перекрытий и крыши в дополнение к их собственному весу и которые выдерживают боковое давление от ветра и, в некоторых случаях, от хранимых материалов или предметов внутри здания,
b ненесущие стены, не несущие нагрузок на пол или крышу.Каждый тип можно разделить на внешние и закрывающие. стены и внутренние перегородки. Применяется термин разделение к стенам, несущим или ненесущим, разделяющим пространство внутри здания на комнаты.
Стены хорошего качества обеспечивают прочность и устойчивость к погодным условиям. сопротивление, огнестойкость, теплоизоляция и звук изоляция.
Виды стен зданий
Есть разные способы возведения стены и много разных
материалы можно использовать, но их можно разделить на четыре основных
группы.
Кладка стены, в которой стена построена из отдельных блоков из таких материалов, как кирпич, глина или бетонные блоки, или камень, обычно в горизонтальных рядах, скрепленных какой-либо формой миномет. Некоторые продукты земного происхождения, высушенные на воздухе или обожженные, имеют разумную стоимость и хорошо подходят для климата.
Монолитная стена, в которой стена построена из материала размещаются в формах при строительстве. Традиционная земля стена и современная бетонная стена являются примерами.Земляные стены недорогие и долговечные, если их положить на хороший фундамент и защищен от дождя штукатуркой или широкими свесами кровли.
Каркасная стена, в которой стена выполнена в виде каркаса из относительно небольшие элементы, обычно из дерева, через короткие промежутки которые вместе с облицовкой или обшивкой с одной или обеих сторон образуют несущая система. Обрезки — недорогой материал для каркасное настенное покрытие.
Мембранная стена, в которой стена выполнена в виде сэндвича
из двух тонких обшивок или листов армированного пластика, металла,
асбестоцемент или другой подходящий материал, прикрепленный к сердцевине
пенопласт для изготовления тонкостенных элементов высокой прочности
и небольшой вес.
Другой вид конструкции, приспособленный для каркаса или земли здания состоят из относительно легких листов, прикрепленных к лицевую сторону стены, чтобы сформировать закрытый элемент. Это обычно называют «облицовкой».
Факторы, определяющие тип используемой стены:
- a Материалы доступны по разумной цене.
- b Наличие мастеров, умеющих использовать материалы в лучшем виде.
- c Климат
- d Использование здания — функциональные требования.
Высота стен должна позволять людям свободно ходить и работать в помещении, не биться головой о потолок, балки и т. д. В жилых домах с потолками подходящей высоты 2,4 м. Низкие крыши или потолки в доме создают удручающую атмосферу. и, как правило, делают комнаты теплее в жаркую погоду.
Кладка стен
За исключением некоторых форм каменных стен, вся кладка
состоит из прямоугольных блоков, собранных в горизонтальные слои
называется курсами.
Агрегаты закладываются на строительный раствор в определенных
узоры, называемые склеиванием, чтобы распределять нагрузки и противостоять
переворачивание, а в случае более толстых стен — коробление.
Материалом для кирпичной кладки может быть глиняный или сырцовый кирпич, кирпичи из обожженной глины, грунтовые блоки (стабилизированные или нестабилизированные), бетонные блоки, каменные блоки или щебень. Блоки могут быть цельными или пустой.
Рисунок 5.18 Примеры, показывающие зачем склеивание необходимо.
Рисунок 5.19 английский и Фламандское склеивание кирпичных стен.
кирпичей
В кирпичной кладке кирпичи, уложенные вдоль стены, носилки и курс, в котором они возникают, конечно растяжка. Кирпичи, уложенные по толщине стены, называется заголовками и курсом, в котором они возникают, заголовком курс.
Кирпичи можно расположить самыми разными способами для получения
удовлетворительная связь, и каждая договоренность обозначена
узор из заголовков и подрамников на лицевой стороне стены.
Эти
рисунки различаются по внешнему виду, что приводит к характерным
«текстуры» на поверхностях стен, и определенная связь может быть
используется для рисунка поверхности, а не для прочности
характеристики. Для поддержания связи необходимо в некоторых
указывает на использование кирпичей, разрезанных по-разному, каждый из которых имеет
техническое название согласно способу огранки.
Простейшие договоренности, или, как их называют, « облигации », облигация растяжения и облигация заголовка.В первом случае каждый курс полностью состоит из носилок, уложенных, как показано на рисунке 5.20, и подходит только для полукирпичных стен типа перегородок, облицовки для блочные стены и листы стенок пустот. Построены более толстые стены полностью с носилками, вероятно, изгибаются, как показано на рисунке. 5.18. Заголовок обычно используется только для изогнутых стен.
Два скрепления, которые чаще всего используются для стен в один кирпич и более
по толщине известны как английская облигация и фламандская облигация.
А
«Толщина одного кирпича» равна длине кирпича. Эти
Связки включают в себя как заголовки, так и подрамники в стене, которые
расположены с заголовком, расположенным по центру над каждым носилком
в приведенном ниже курсе, чтобы добиться связи и минимизировать
прямые стыки. В обеих связях 120 кирпичей стандартного размера.
требуется на метр стены 23 см. Этот показатель позволяет от 15 до 20%
обрыв и швы на 1см раствора. Рисунок 5.19 иллюстрирует английский язык.
и фламандские связи.
Кирпич иногда используют при строительстве пустотелых стен
поскольку воздушное пространство улучшает тепловое сопротивление и
устойчивость к проникновению дождя по сравнению со сплошной стеной
такая же толщина. Такая стена обычно застраивается внутренней и
внешний лист в растягивающейся связке, оставляя пространство или полость 50
до 90 мм между листами. Два листа соединены металлом.
стенные анкеры с интервалом 900 мм по горизонтали и 450 мм по вертикали, как показано
на рисунке 5.20.
Рисунок 5.20 Кирпичная полость стена.
Бетонные блоки
Большая часть процедуры строительства бетонного блока стены обсуждались под заголовком «Фундаменты». Однако следует учитывать несколько дополнительных факторов.
Лучше всего работать с сухими, хорошо затвердевшими блоками, чтобы уменьшить
усадка и растрескивание стены до минимума. Кроме quins
(углы) несущие стены из бетонных блоков не следует приклеивать
на стыках как в кирпичной, так и в каменной кладке.На стыках одна стена
должен упираться в лицо друг друга, образуя вертикальный
соединение, которое позволяет движение в стенах и, таким образом, контролирует
растрескивание. Если боковая поддержка должна быть обеспечена
пересекающаяся стена, эти два могут быть связаны между собой 5 мм x 30 мм
металлические стяжки с разрезными концами, расположенные вертикально с интервалом
около 1 200мм. Деформационные швы должны допускаться через определенные промежутки времени.
не более 2 1/2 высоты стены.
Два раздела
стена должна быть соединена шпонками или стабилизирована перекрывающимся косяком
блоки, как показано на рисунке 5.21. Стыки заделаны
эластичная мастика для предотвращения попадания воды в стену.
Рисунок 5.21 Боковая опора для стен на деформационных швах.
Многие стены в тропиках должны пропускать свет и воздух. действуя как солнечные выключатели. Чтобы удовлетворить эту потребность, перфорированные стены популярны и разработаны в различных узорах, некоторые несущие, прочие легкой конструкции. Пустотные бетонные блоки могут использовать для этой цели с пользой.Горизонтально или вертикально плиты из железобетона (ж / б щели) могут использоваться в качестве солнцезащитные очки. Обычно они строятся под наклоном в чтобы получить максимальное укрытие от солнца.
Камни
Каменные блоки, добытые в карьерах, грубые или гладкие
поверхность укладывается так же, как бетон или стабилизированный грунт
блоки. Случайные каменные стены строятся из камней случайного размера.
и форму по мере их нахождения или добычи из карьера.Стены с использованием
ламинированные разновидности камня, которые легко раскалываются
прямые грани произвольного размера называются каменными стенами прямоугольной формы.
Рисунок 5.22 Блочные стены для вентиляция.
В этих стенах, как и во всей кладке, продольная связь
достигается за счет перекрытия камней в соседних рядах, но
количество перекрытий варьируется, потому что камни различаются по размеру. С
стены из щебня, по сути, построены как две оболочки с
Неровное пространство между прочно заполненным щебнем
(мелкие камни), поперечное соединение или стяжка обеспечивается за счет использования
длинные камни заголовка, известные как связки.Они распространяются не более чем на
три четверти толщины стенки, чтобы избежать прохождения
влага к внутренней поверхности стены, и по крайней мере один
требуется на каждый метр поверхности стены. Большие камни, разумно
квадратной формы или примерно квадратной формы, используются для углов и
косяки дверных и оконных проемов для получения повышенной прочности
и стабильность в этих точках.
Случайные стены из щебня могут быть построены как стены без покрытия, в которых не предпринимаются попытки уложить камни горизонтальными рядами, или он может быть доставлен на курсы, в которых камни примерно выровнены с интервалами от 300 мм до 450 мм, чтобы сформировать курсы различной длины глубина с камнями корешка и косяк.
Грубая квадратура камней увеличивает стабильность стены и повышение ее устойчивости к атмосферным воздействиям, поскольку камни плотнее ложатся друг на друга, стыки тоньше, и поэтому в растворе для швов меньше усадка. Внешний несущие каменные стены должны быть толщиной не менее 300 мм для одноэтажные дома.
Проемы в кладке стен
Проемы в кирпичных стенах необходимы для дверей и окон.Ширина проема, высота стены над проемом и
прочность стены по обе стороны от проема является основным
расчетные факторы. Они особенно важны там, где есть
много отверстий в стене, которые расположены довольно близко друг к другу.
Опора над проемом может быть перемычкой из дерева, стали или железобетон или арка из кирпича блоки, аналогичные используемым в прилегающей стене, или такие же, как у них. Перемычки создают только вертикальные нагрузки на прилегающие участки стены и сами подвергаются изгибающим и сдвигающим нагрузкам и сжимающие нагрузки в точках их опоры.Бетонные перемычки май быть отлитым на месте или предварительно изготовленным и установленным как стена построена.
Рисунок 5.23. необработанные случайные стены из щебня.
Арки подвергаются одинаковым изгибающим и поперечным силам, но кроме того, есть сила тяги как на арку, так и на примыкающие участки стены.
Определить нагрузки и выбрать древесину или установить стальную перемычку или спроектировать арматуру для бетонная перемычка.Однако конструкция арки всегда предполагает предположения, а затем проверка этих предположений.
Деревянные перемычки подходят для легких нагрузок и коротких
пролеты.
Давление древесины, обработанной консервантом, следует
использовал.
подходят для небольших отверстий и Таблица 5.8. представляет информацию о размерах, пролете и нагрузке для нескольких размеров. Для больших пролетов требуется универсальное сечение 1 — балки и специальный анализ конструкции.Стальные перемычки следует защищать от коррозии. с двумя или более слоями краски.
Таблица 5.8 Допустимо Равномерно Распределенные нагрузки на стальные угловые перемычки (кг)
| Размер уголка, мм | Масса | Сейф нагрузка (кг) на длину пролета, (м) | ||||
| В x В x В | кг / м | 1 | 1. 5 | 2 | 2,5 | 3 |
| 90 х 90 х 8 | 10,7 | 1830 | 1200 | 900 | 710 | |
| 125 х 90 х 8 | 13,0 | 3500 | 2350 | 1760 | 1420 | 1150 |
| 125 х 90 х 13 | 20.3 | 5530 | 3700 | 2760 | 2220 | 1850 |
| 125 х 102 х 10 | 18,3 | 6100 | 4060 | 3050 | 2440 | 2032 |
V = вертикальная ножка.
H = горизонтальная полка, Th = толщина
Железобетон — очень распространенный материал, используемый для перемычки.
Бетонные перемычки изготавливаются из бетонной смеси 1: 2: 4 (с
предел прочности 13,8 Н / мм) и обычно усилены
один стальной стержень на каждые 100 мм ширины. Для достаточно коротких пролетов
над дверными и оконными проемами, «выгибание» нормального
хорошо склеенные кирпичи или блоки из-за перекрытия блоков
могут быть приняты во внимание. Можно предположить, что перемычка будет
переносите только ту часть стены, которая окружена равносторонним
треугольник с перемычкой в основании.Для широких пролетов угол
60 используется. Для пролетов до 3 м размеры перемычек и
количество и размеры стержней арматуры, указанные в таблице 5.9, могут быть
использовал. Стальные стержни должны быть покрыты бетоном толщиной 40 мм и
опоры на стене должны быть предпочтительно 200 мм или не менее
равной глубине перемычки. Перемычки с размахом больше
чем 3м должны быть рассчитаны на конкретную ситуацию.
Длиннопролетные перемычки из бетона можно заливать на месте в опалубку возведен во главе проема.Однако сборное железобетонное обычно применяется там, где есть подходящие подъемные приспособления или кран. доступен для подъема перемычки на место или там, где она легкая Достаточно, чтобы его поставили на место двое мужчин.
Камень обычно используется в качестве облицовки для стали или бетона. перемычка. Если не армирован стержнями из мягкой стали или сеткой, кирпич перемычки подходят только для коротких пролетов до Im, но как камень, кирпич также используют в качестве облицовки для стального или бетонного перемычка.
Арка — это подконструкция, используемая для перекрытия проема с
компоненты меньше по размеру, чем ширина проема. Это
состоит из блоков, которые взаимно поддерживают друг друга по
проем между абатментами с каждой стороны. Он оказывает нисходящее
и толчок наружу на опоры, которые должны быть достаточно сильными
для обеспечения устойчивости арки.
Стыковка и указка
Перемычки железобетонные
Соединение и острие — термины, используемые для данной отделки. к вертикальным и горизонтальным швам в кладке, независимо от того, кирпичная, блочная или каменная стена строительство.Соединение — это отделка стыков в качестве работа продолжается. Покраска — это отделка стыков разгребание раствора на глубину примерно 20 мм и заполнение лица твердым цементным раствором, способным есть цветная добавка. Этот процесс можно применить как к новым и старые постройки. Типичные примеры соединения и заострения: приведено на рисунке 5.25.
Рисунок 5.24 Отверстия в кладка стен.
| Размер Перемычка (мм) | Пролет | снизу Армирование | ||
| H | Вт | м | Количество стержней | Размер стержней |
| 150 | 200 | <2. 0 | 2 | 10мм, круглый, деформированный |
| 200 | 200 | 2,0–2,5 | 2 | 10мм, круглый, деформированный |
| 200 | 200 | 2,5 — 3,0 | 2 | 16мм, круглый, деформированный |
| Разрезные перемычки с нагрузкой на стену Только | ||||
| 150 | 200 | <2.0 | 1 штука | 10мм, круглый, деформированный |
| 200 | 200 | 2,0–2,5 | 1 штука | 10мм, круглый, деформированный |
| 200 | 200 | 2,5 -3,0 | 1 штука | 16мм, круглый, деформированный |
Надежная опора на каждом конце, 200 мм
Рисунок 5.
25 примеров
стыковка и наведение.
Монолитные земляные стены
Строительство земляной стены широко используется, потому что это недорогой строительный метод и материалы обычно в изобилии доступно на месте. Потому что земляная стена — единственный тип, люди могут себе позволить, стоит использовать методы, которые повысить его долговечность. Было обнаружено, что восприимчивость к дождевая эрозия и общая потеря устойчивости из-за высокой влага может быть устранена при соблюдении простых процедур при выборе участка, строительстве и обслуживании здания.
Земляные стены в основном подвержены влиянию:
- эрозия из-за дождя, попадающего прямо на стены или брызгает с земли
- насыщение нижней части стены подъемом капиллярная вода
- землетрясение
Для одноэтажных домов с земляными стенами, конструктивные особенности
менее важны из-за обычно используемой легкой кровли.
А
плохо спроектированное или построенное здание с земляными стенами может треснуть или
передернуть, но внезапный обвал маловероятен.Долговечность, не
прочность, это основная проблема и сохранение стен сухими после
строительство — основное решение. Способы стабилизации земли
можно найти в главе 3.
Ключевые факторы повышения долговечности заземленных в составе строений:
- Выбор участка с адекватным дренажем и бесплатным дренирующая и не набухающая почва. Строительство земли здания на набухающих почвах и с ними могут привести к перекосы фундамента и стен в сезон дождей.
- Строительство фундаментной стены из блоков или камни, установленные в цементном или глиняном растворе. Основание сводит к минимуму последствия всех видов повреждений, вызванных водой к основанию стены.
- Стабилизация грунта, используемого для возведения стен.
Стабилизированные земляные стены прочнее и устойчивее к
влага, дождь и насекомые, особенно термиты.
Избегать
использование чистого чернохлопкового грунта для строительства
потому что он сильно сжимается при высыхании, что приводит к растрескиванию
и искажение.Глинистые почвы должны быть стабилизированы
известь, потому что цемент показал плохие результаты для этих
почвы. - . Пропитка стабилизированной земляной стены водонепроницаемым покрытие.
- Штукатурка для защиты стены от воды и насекомых.
- Обеспечение достаточной ширины пещеры (свес крыши) для уменьшить эрозию стен. Однако ширина пещеры ограничена примерно 0,6 м или чуть больше из-за риска повреждения ветром.Включение веранд может быть полезно для защита стен.
- Уход за стеной и защитным покрытием.
- Обеспечение свободного испарения капиллярной влаги убирать невысокую растительность у стен здания.
Материал грунт можно использовать по-разному для стен.
строительство. Ручной — утрамбованный или машинный — уплотненный, стабилизированный
почвенные блоки и высушенные на солнце глиняные (саманные) кирпичи используются в том же
маннор, как кладка из других материалов.Пока кладка
конструкции уже были описаны, следует отметить
что несколько худшие прочностные свойства и долговечность
почвенные блоки и сырцовые кирпичи могут сделать их менее подходящими для некоторых
типы строительства, например фундаментные стены. Особая осторожность должна
при проектировании абатментов перемычки, чтобы гарантировать, что
несущие напряжения выдерживаются в пределах допустимых.
Утрамбованные земляные стены
Способ возведения монолитной земляной стены —
показано на рисунке 5.26. Использование грунта, смешанного с подходящим
стабилизатор при правильном соотношении увеличит прочность и
прочность стены при условии, что стена должным образом вылечена.
Однако самый важный фактор при построении
утрамбованная земляная стена (с использованием стабилизированного или естественного грунта) возможно
тщательное уплотнение каждого слоя почвы по мере засыпки
плесень.
опалубка должна быть достаточно прочной, чтобы противостоять боковому
силы, действующие на почву во время этой операции.Расстояние
между боковыми опорами (поперечными стенами и т. д.) не должно превышать 4 м
для утрамбованной земляной стены толщиной 300 мм.
Рисунок 5.26 Построение стена из утрамбованной земли
Обработайте фундаментную стену крышкой из песчано-цементного раствора.
Опирается на горизонтальные кронштейны, проходящие через стену — a
плесень построена. Кронштейны, а также проведите провода выше
форма действует как связка и вместе с остальной частью
плесень быть достаточно прочной, чтобы противостоять давлению земли
во время трамбовки.Засыпьте землю тонкими слоями и
тщательно уплотните перед нанесением следующего слоя. После
форма была заполнена, ее вынимают и кладут поверх
уже готовая стена. Хотя форма имеет глубину всего от 500 до 700 мм,
он будет перемещен несколько раз до достижения конечной высоты
стена достигнута. Вырубка секций увеличит
устойчивость стены.
Достаточно большая рабочая сила, чтобы позволить
несколько операций, таких как подготовка почвы, транспортировка, заполнение
и таран, чтобы идти одновременно, обеспечит быстрое
строительство.
Опалубка опалубка для земляных стен
Фундаментная стена возводится на высоте 50 см от уровня земли. с камнями и известковым раствором. Армирование стен состоит из шестов или бамбука, которые устанавливаются в траншее, когда камни кладется фундаментная стена. Панель земли в скольжении опалубку утрамбовывают слой за слоем до полного заполнения формы. В форма затем перемещается и запускается новая панель. Наконец верхний кольцевую балку привязывают к стержням арматуры.После окончания панели, стыки заделываются земляным раствором.
Грязевые и опорные стены
Строительство глиняных и столбовых стен ведется на
конец Раздела Земля как Строительный Материал вместе с некоторыми другими
виды глинобитных конструкций. Можно построить каркасную стену из столбов
с толстой землей (25 см и более) или тонкой землей
облицовка (10см и меньше).
Пока земля блокирует стены и утрамбовывает землю
стены обычно лучше глиняных и столбовых, это должно
использоваться, когда имеется запас прочных столбов и почва
не подходит для изготовления блоков.Независимо от типа стены,
Основа всех улучшений — сохранить стену сухой после
строительство.
Установить гидроизоляционный слой поверх фундаментной стены, около 50 см над уровнем земли. Изготовить заводские лестницы из зеленого цвета бамбуковые или деревянные шесты диаметром около 5 см. Улица деревянные или колотые бамбуковые рейки прибиваются или привязываются к лестницам по мере засыпки почвы последовательными слоями. Углы должны быть скреплены по диагонали.Сопротивление землетрясениям улучшается за счет фундаментный каркас к фундаменту с слоем извести или цемента грунтовый раствор.
Рисунок 5.27 Построение утрамбованный волк с скользящей формой.
Рисунок 5.28 Построение стена из грязи и столбов.
Каркасные стены
Каркасные стены состоят из вертикальных деревянных элементов, называемых стойками.
обрамлена между горизонтальными элементами сверху и снизу.Вершина
элемент называется пластиной, а нижний элемент — подошвой или порогом.
Используются простые стыковые соединения с гвоздями или гвоздями с носком.
Таким образом, рама не очень жесткая и требует фиксации.
чтобы обеспечить соответствующую жесткость.
Для этой цели можно использовать диагональные скобы, но обычные способ, который быстрее и дешевле, — использовать строительную плиту или фанерные листы для придания конструкции жесткости. Шпильки обычно разнесены по центрам 400 или 600 мм, что связано с стандартная ширина 1200 мм для многих типов строительных плит, используемых для обшивка.Так как несущие элементы стен этого типа деревянные, не рекомендуется для термитников, особенно если обе стороны рамы обработаны или закрыты, что делает ее трудно обнаружить нападение термитов.
Каркасная конструкция из бруса должна подниматься вне контакта
с грунтовой влагой и защищен от термитов. Это
осуществляется путем установки на фундаментной стене или фундаментной балке
поднимаясь на гидроизоляционный слой или на край бетонной плиты
этаж.
В качестве основы для всей конструкции устанавливается подоконник и
тщательно выровнен на гидроизоляционном полотне и надежно закреплен
к фундаменту. Для поддержания эффективности гидроизоляции
Конечно, он должен быть тщательно запломбирован на всех позициях болтов. А
сплошной термитный щит должен быть установлен между
гидроизоляция, порог и большая осторожность при герметизации
вокруг отверстий, необходимых для анкерных болтов. Подоконник
может быть 100 мм на 50 мм при креплении к бетонному основанию, но должен быть
увеличена в ширину до 150 мм на кирпичной фундаментной стене.
Вместо бревна можно использовать бамбуковые или круглые деревянные шесты в качестве
гвоздики, которые затем покрывают бамбуковыми циновками, тростниковыми циновками, травой,
пальмовых листьев и т. д. Другой альтернативой является прикрепление циновок к
шпильки, а затем оштукатурить маты цементной штукатуркой или другим
материал. Некоторые конструкции этого типа имеют непродолжительный срок службы из-за
поражение грибами и термитами.
Их также сложно держать
чистым и велик риск возгорания. Рисунок 5.30 дает краткую
информация о бамбуковых стеновых панелях, которые могут быть изготовлены опытными
мастера.
Рисунок 5.29 Каркасная стена строительство.
Облицовки и покрытия
Облицовка и облицовка относятся к панелям или другим материалам, которые применяются в качестве наружных покрытий на стенах для защиты от элементы или для декоративных эффектов. Облицовка или обшивка особенно полезен для защиты и улучшения внешнего вида стен земляных сооружений, которые сами по себе могут быть размывается дождем и становится совершенно неприглядным.
Облицовки обычно имеют низкую конструкционную прочность или ее отсутствие и должен быть прикреплен к гладкой сплошной поверхности. Штукатурка или мелкая размер плитки являются примерами.
Облицовка отличается от облицовки тем, что в материалах есть
структурная прочность и способны заполнить промежутки между
рейки или планки обрешетки, на которые они крепятся.
Разные
черепица, плитка большего размера, вертикальная и горизонтальная древесина
сайдинг и строительные плиты, такие как фанера и асбестоцемент
доски подходят для облицовки.Профнастил стальной кровли также
удовлетворительно. Материалы облицовки должны уметь переносить
ветровые нагрузки на конструкцию здания и для компенсации некоторых злоупотреблений
от людей и животных. Расстояние между полосами обрешетки будет
влияют на сопротивление оболочки этим силам.
Расстояние для черепицы и черепицы определяется длина агрегатов. Расстояние для горизонтального деревянного сайдинга обычно должна быть около 400 мм, а вертикальный деревянный сайдинг можно безопасно перебросить 600 мм.Фанера толщиной не менее 12 мм может мост 1200 мм от края до края, если поддерживается с интервалом 800 мм в другое направление.
Металлическая кровля, используемая в качестве обшивки, может монтироваться на каркас
полосы на расстоянии 600 мм друг от друга. Это обычное дело для производителей
строительные материалы для предоставления инструкций по установке,
включая частоту поддержки членов.
Содержание — Предыдущая — Следующая
вековых монолитных построек на подъеме
Монолитное строительство становится все более распространенным в Соединенных Штатах, но не так, как вы думаете.Построенные таким образом здания — это не огромные монолиты, возвышающиеся над городскими кварталами. Скорее, это офисные башни, многоквартирные дома, дома, церкви и вообще любые конструкции, построенные из одного материала — обычно литого бетона.
Хотя этот метод снова набирает популярность в Соединенных Штатах после кратковременного всплеска интереса на протяжении многих лет, он уже довольно распространен в Великобритании и других странах из-за экономии затрат и времени на строительство.
Этот метод проектирования делает строительство простым и понятным и требует меньше строительных материалов, чем стандартные методы, — говорит Яннис Вернери, ученый из отдела строительных материалов и компонентов Швейцарской федеральной лаборатории материаловедения и технологий.
Как строятся монолитные дома?
Чтобы построить монолитное здание, сначала устанавливают предварительно спроектированную опалубку вместе с электрическими, водопроводными, канализационными и другими услугами. Затем вся конструкция заливается бетоном. Плита и балка сливаются вместе таким образом, чтобы обеспечить фиксацию в стыке, так что весь блок действует как единое целое. Между тем, опалубка обеспечивает правильное выравнивание и гладкие поверхности.
Когда здание заливается монолитно, и водопровод, и электричество можно разместить до того, как будут установлены формы.Это избавляет от необходимости каркасной внутренней части здания для установки водопровода и электрики.
Большинство ключевых компонентов этих конструкций, таких как стены, колонны, балконы и проемы, заливаются на месте, как и плиты и балки, что исключает необходимость и затраты на кирпич, штукатурку и другие строительные материалы. Подрядчики могут возводить монолитные стены и плиты за одну операцию в течение дня.
Все эти факторы означают, что строительство может произойти быстро.
И поскольку метод повторяется — он повторяется снова и снова, пока здание не будет завершено — монолитное строительство экономит время и деньги. Она сочетает в себе скорость, качество и точность товарного бетона и опалубки, производимого на месте, с гибкостью и экономичностью монолитного строительства.
Вытолканный в скале
Самой ранней формой монолитной архитектуры, наиболее часто упоминаемой, являются сооружения, высеченные из скалы, такие как монолитные церкви, построенные во время средневековой династии Загве, которая правила примерно с 900 по 1270 год нашей эры.D. на территории современной Северной Эфиопии. Церкви вырезаны из твердой скалы, и часто основание скалы до сих пор служит основанием конструкции. В той или иной форме из этих ранних построек здание вырезано из скал.
Купола также могут быть образцами монолитной архитектуры, будь то древние купола или современные купола, ставшие популярными благодаря Бакминстеру Фуллеру.
Институт монолитных куполов в Италии, штат Техас, построил купольные спортивные стадионы, магазины розничной торговли, церкви и складские сооружения.
«Купола строятся по методу, требующему надувной формы Airform, железобетона и пенополиуретана. Каждый из этих ингредиентов используется особым образом », — говорит Дэвид Саут, основатель института.
«Монолитные купола набирают популярность, — говорит он. «Даже люди, которые говорят, что им не нравится их внешний вид, обычно просто потому, что они такие разные, хотят монолитный купол за его превосходную изоляцию и энергоэффективность, низкие эксплуатационные расходы, виртуальную нерушимость и относительно простой процесс строительства.”
Томас Эдисон построил первый монолитный бетонный дом в 1908 году и запатентовал технологию примерно 10 лет спустя. Только после Первой мировой войны, когда возросший спрос на жилье вновь пробудил интерес к монолитному строительству, строители снова не пытались возводить монолитные бетонные дома.
Однако после войны интерес снизился.
Теперь он снова растет в Соединенных Штатах из-за низкой стоимости и простого метода строительства.
Другие страны также используют эту технику.
В Индии государственное управление строительства Центрального отдела общественных работ внедрило технологию монолитного строительства для более крупных проектов на фоне растущей обеспокоенности по поводу загрязнения пылью, по данным Министерства городского развития, которое курирует этот департамент.
По данным Министерства, этот метод получил признание за «быстрое, качественное и беспыльное строительство» для крупных проектов.
Также в Индии частная строительная компания PG Setty около трех лет назад ввела монолитное строительство в государственный сектор для «массовых жилищных проектов для обитателей трущоб и более слабых слоев населения», говорится в заявлении фирмы.Используя монолитную технику, компания может построить каркас четырех домов за 48 часов с помощью опалубки из США.
«Монолитная бетонная конструкция и соответствующие материалы приведут к быстрому и экономичному устойчивому развитию строительства, обеспечивая качество, время, стоимость и долговечность благодаря своей однородности», — говорится в заявлении PG Setty.
«Когда здание строится из цемента, необходимо учитывать такие простые вещи, как изоляция», — говорит Вернери.
Он и его коллеги-ученые из его швейцарской лаборатории говорят, что они разработали кирпич, который значительно увеличивает изоляцию, но не увеличивает объем. По словам Вернери, в строительной отрасли начали внедрять внутренние изоляционные стены, и сегодня уже доступно несколько изолированных кирпичей и панельных систем, в которых в качестве изоляционных материалов используются такие материалы, как перлит, минеральная вата или полистирол.
Ученые из его группы создали кирпичи, которые изолируют лучше, чем уже существующие кирпичи.Они используют другой изоляционный материал, чем остальные: аэрогель.
По его словам, стена, построенная из аэрокирпичей из этого материала, проводит тепло в восемь раз лучше, чем стена из стандартных глиняных и сланцевых кирпичей.
По мере роста спроса на здания возрастает потребность в более эффективных методах строительства. Одно из них — монолитное строительство. Какие еще методы приходят на ум? Прокомментируйте ниже и дайте нам знать.
Типы стен, требующих монолитного строительства
Контекст 1
… и экспериментальные исследования прочности стен из кирпичной кладки, как правило, сосредоточены на рассмотрении прямоугольных поперечных сечений. Тем не менее, многие стены в практических ситуациях усилены опорами, возвратными линиями или другими фланцевыми секциями для увеличения их бокового сопротивления ͑ Рис. 1 ͒. Чтобы добиться эффективного композитного поведения для этих типов непрямоугольных стен, требуется монолитное структурное соединение через вертикальную поверхность раздела между компонентами каменной кладки.
Опорные фланцы обычно соединяются со стенкой кладкой в виде рядов коллектора или металлическими соединителями сдвига, встроенными в стыки основания и проходящими через плоскость сдвига с вертикальным стыком на границе раздела, заполненным раствором.Этот последний метод полезен там, где есть различный рисунок склеивания на каждой стороне стены или когда разные материалы используются бок о бок. Соединители также полезны, когда влагонепроницаемая мембрана встроена в вертикальное соединение между ребрами и наружным листом стенки мембраны, чтобы предотвратить проникновение влаги в блоки с высокой абсорбцией. В конструкции недостаточная способность к вертикальному сдвигу вдоль границы раздела может быть результатом значительных изменений сечения стены вниз по зданию или эффектов дифференциальной вертикальной нагрузки на полки и стенку секции ͑ Sinha and Hendry 1981; Корреа и Рамальо 2003 ͒.Эти эффекты вместе с неравномерной осадкой конструкции или, чаще, ветром или сейсмическими воздействиями Drysdale et al.
1994, 2008 ͒ — это лишь некоторые из примеров, когда способность к сдвигу границы раздела в непрямоугольных сечениях могла быть критическим параметром при проектировании. Эта пропускная способность может иметь отношение к упругой конструкции ͑ в зависимости от требований кодекса, и она, безусловно, имеет отношение к расчету предельной прочности, где необходимо учитывать неупругие эффекты. Эта проблема также будет интересна проектировщикам в случае экстремальных нагрузок, когда от каменных конструкций может потребоваться повышенная структурная целостность как часть комплексной стратегии проектирования против постепенного обрушения из-за аварии, неправильного использования, саботажа или других причин. .Для боковых нагруженных непрямоугольных поперечных сечений для расчета модуля сечения поперечной стенки ͑ Рис. 1 рассматриваемая часть фланца поперечной стенки обычно ограничивается определенными пределами отношения l / h, чтобы учесть сдвиг. эффекты запаздывания ͑ l — длина стены и l, h — высота l / h Յ 1,5 стены.
Требования к фланцам для C-, L-, l e = и 0,75 Z-образной формы h + 0,5 л, сечения 1,5 Յ l ар / ч Յ обычно 3,5 · ограничены от 1 до ͒ 1/6 от общей высоты 2.5 h, стенка или шесть l / h, умноженных на 3,5 толщины пересекающейся стены Эти уравнения могут иметь меньший результат в зависимости от того, какой результат эффективен. Фланец Для T-образного сечения, ширина стенок которого превышает ширину фланца в 1,5 раза, высота секций или трех секций обычно на четверть вдвое больше, чем стена выше. высота Обратите внимание на то, что любая расчетная сторона ограничительной перемычки для фланцевых секций стенки может существенно отличаться в зависимости от конструкции в коде изгиба ͓ Австралийский стандарт сопротивления непрямоугольным элементам ͑ 2002 ͒; EN ͑ кладка 2005a ͒; Элемент кладки.Стандарты Начиная с нового стандарта Объединенного комитета MSJC, MSJC использует эластичный 2008; канадский дизайн для неармированных стен Ассоциацией стандартов ͑ кирпичная кладка CSA ͒ 2004 г .; ͑ УРМ и др.
͒ ͔. ͑ Рис. 2 Согласно ͒, установленному некоторыми авторами верхнему пределу ͑ Ортон в 1986 году, в более высоких зданиях, если принять во внимание фланцевую часть, разумно ограничить эффективную ширину этой фланцевой части поперечной стены. к половине предполагаемого значения для стены при локальном изгибе, т. е. эффективная ширина фланца T- и I-образных стен будет около h / 6, а ширина C-, L- и Z-образных стен — около h / 12.Обычно напряжения сдвига вдоль линии, соединяющей фланец со стенкой, следует проверять, если часть фланца превышает примерно 40% длины стенки. Обратите внимание, что в соответствии с новым MSJC ͓ Объединенным комитетом по стандартам кладки ͑ MSJC ͒ 2008 ͔, эффективная длина фланца ͑ le ͒, которая также зависит от соотношения л / ч элемента стенки, рассчитывается как л, л / ч 1,5. le = 0,75 ч + 0,5 л, 1,5 л / ч Յ 3,5 · ͑ 1 ͒ 2,5 ч, л / ч Ն 3,5 Эти уравнения могут привести к эффективной ширине фланца более 1.В 5 раз больше высоты или три четверти высоты стены по обе стороны от перемычки стены, что приведет к значительному увеличению сопротивления изгибу непрямоугольного элемента кладки.
Поскольку в новом стандарте MSJC используется эластичная конструкция для неармированной каменной кладки без трещин (URM), рис. 2, внутренний верхний предел прочности на изгиб, налагаемый этими допущениями, обычно приводит к некритическим уровням напряжения сдвига на границе раздела фланец-стенка. Это может быть не так, если выполняется анализ сечения с трещинами.В этой области проведено лишь ограниченное количество исследований. Как следствие, правила разработки кода значительно различаются от страны к стране и отражают ограниченность имеющихся знаний. Глубокие исследования этого явления в отношении поведения стенки диафрагмы были проведены Фиппсом в Соединенном Королевстве ͑ Фиппс и Монтегю 1986, а затем эта работа была расширена в Австралии Фиппсом и Пейджем 1995a, b. Совсем недавно эта проблема была оценена также Correa and Ramalho (2003) и Drysdale et al.͑ 2008 ͒. Этот общий недостаток знаний о способности к вертикальному сдвигу привел к изменяющимся и консервативным положениям проектирования, и, таким образом, получаются чрезмерно консервативные прогнозы прочности, когда эти кодовые процедуры используются при проектировании несущих конструкций.
Двумя факторами, усложняющими разработку положений о согласованном проектировании, являются широко различающиеся типы стен и методы строительства и детализация в разных странах. В некоторых положениях кодекса для расчета напряжения сдвига используется теоретическое распределение параболического напряжения ͑ f v = VQ / I n b, а не метод среднего напряжения ͑ f v = V / A ͒.Однако во многих кодах используется среднее напряжение сдвига, поэтому прямое сравнение допустимых значений в соответствии с различными положениями кодов не всегда корректно. Для целей данного документа коды Европейского Союза, Австралии, Канады и США обобщены и сопоставлены в таблице 1. В последней версии нового Европейского стандарта для каменных конструкций ͑ EN 2005a ͒ допустимая нагрузка на вертикальный сдвиг соединения между двумя соседними стены обсуждается очень кратко. Сопротивление вертикальному сдвигу стыка двух каменных стен должно быть получено с помощью соответствующих испытаний ͑ которые в настоящий момент не определены.
При отсутствии результатов испытаний характеристическое сопротивление вертикальному сдвигу может быть основано на начальном сопротивлении горизонтальному сдвигу при нулевых сжимающих напряжениях ͑ f v k 0 ͒. Это контрастирует с Австралийским стандартом для каменных конструкций ͑ Австралийским стандартом 2002 года, который содержит довольно специфические, но, вероятно, консервативные ͒ положения, Таблица 1. Он также предъявляет некоторые уникальные требования к прочности на сдвиг отдельных соединителей. Они были основаны на механистическом подходе и подходят для методов расчета пределов.Проект США …
Контекст 2
… и экспериментальные исследования прочности кирпичных стен, как правило, сосредоточены на рассмотрении прямоугольных поперечных сечений. Тем не менее, многие стены в практических ситуациях усилены опорами, возвратными линиями или другими фланцевыми секциями для увеличения их бокового сопротивления ͑ Рис. 1 ͒. Чтобы добиться эффективного композитного поведения для этих типов непрямоугольных стен, требуется монолитное структурное соединение через вертикальную поверхность раздела между компонентами каменной кладки.
Опорные фланцы обычно соединяются со стенкой кладкой в виде рядов коллектора или металлическими соединителями сдвига, встроенными в стыки основания и проходящими через плоскость сдвига с вертикальным стыком на границе раздела, заполненным раствором. Этот последний метод полезен там, где есть различный рисунок склеивания на каждой стороне стены или когда разные материалы используются бок о бок. Соединители также полезны, когда влагонепроницаемая мембрана встроена в вертикальное соединение между ребрами и наружным листом стенки мембраны, чтобы предотвратить проникновение влаги в блоки с высокой абсорбцией.В конструкции недостаточная способность к вертикальному сдвигу вдоль границы раздела может быть результатом значительных изменений сечения стены вниз по зданию или эффектов дифференциальной вертикальной нагрузки на полки и стенку секции ͑ Sinha and Hendry 1981; Корреа и Рамальо 2003 ͒. Эти эффекты вместе с неравномерной осадкой конструкции или, чаще, ветром или сейсмическими воздействиями Drysdale et al.
1994, 2008 ͒ — это лишь некоторые из примеров, когда способность к сдвигу границы раздела в непрямоугольных сечениях могла быть критическим параметром при проектировании.Эта пропускная способность может иметь отношение к упругой конструкции ͑ в зависимости от требований кодекса, и она, безусловно, имеет отношение к расчету предельной прочности, где необходимо учитывать неупругие эффекты. Эта проблема также будет интересна проектировщикам в случае экстремальных нагрузок, когда от каменных конструкций может потребоваться повышенная структурная целостность как часть комплексной стратегии проектирования против постепенного обрушения из-за аварии, неправильного использования, саботажа или других причин. . Для непрямоугольных поперечных сечений с боковой нагрузкой для расчета модуля сечения поперечной стенки ͑ Рис.1 ͒, рассматриваемая фланцевая часть поперечной стенки обычно ограничивается в определенных пределах отношения l / h, чтобы учесть эффекты сдвига: ͑ l — длина стенки и l, h — высота l / h the 1,5 стенка ͒.
Требования к фланцу для C-, L-, le = и 0,75 Z-образной формы h + 0,5 л, сечения 1,5 Յ l ар / ч Յ обычно 3,5 · ограничено от ͑ 1 до ͒ 1/6 общей высоты 2,5 h , стенка или шесть л / ч, умноженных на 3,5 толщины пересекающейся стены по этим уравнениям, в зависимости от того, какой результат эффективнее, может быть меньше.Фланец Для T-образного сечения, ширина стенок которого превышает ширину фланца в 1,5 раза, высота секций или трех секций обычно на четверть вдвое больше, чем стена выше. высота Обратите внимание на то, что любая расчетная сторона ограничительной перемычки для фланцевых секций стенки может существенно отличаться в зависимости от конструкции в коде изгиба ͓ Австралийский стандарт сопротивления непрямоугольным элементам ͑ 2002 ͒; EN ͑ кладка 2005a ͒; Элемент кладки. Стандарты Начиная с нового стандарта Объединенного комитета MSJC, MSJC использует эластичный 2008; канадский дизайн для неармированных стен Ассоциацией стандартов ͑ кирпичная кладка CSA ͒ 2004 г .; ͑ УРМ и др.͒ ͔.
͑ Рис. 2 Согласно ͒, установленному некоторыми авторами верхнему пределу ͑ Ортон в 1986 году, в более высоких зданиях, если учитывать фланцевую часть, целесообразно ограничить эффективную ширину этой фланцевой части поперечной стены. к половине предполагаемого значения для стены при локальном изгибе, т. е. эффективная ширина фланца T- и I-образных стен будет около h / 6, а ширина C-, L- и Z-образных стен — около h / 12. Обычно напряжения сдвига вдоль линии, соединяющей фланец с стенкой, следует проверять, если часть фланца превышает примерно 40% длины стенки.Обратите внимание, что в соответствии с новым MSJC ͓ Объединенным комитетом по стандартам кладки ͑ MSJC ͒ 2008, эффективная длина фланца ͑ le ͒, которая также зависит от соотношения л / ч элемента стенки, рассчитывается как л, л / ч Յ 1,5. le = 0,75 ч + 0,5 л, 1,5 л / ч Յ 3,5 · ͑ 1 ͒ 2,5 ч, л / ч Ն 3,5 Эти уравнения могут привести к получению эффективной ширины полки более чем в 1,5 раза больше высоты или трех четвертей высоты стены на по обе стороны стенки стены и приведет к значительному увеличению сопротивления изгибу непрямоугольного элемента кладки.
Поскольку в новом стандарте MSJC используется эластичная конструкция для неармированной каменной кладки без трещин (URM), рис. 2, внутренний верхний предел прочности на изгиб, налагаемый этими допущениями, обычно приводит к некритическим уровням напряжения сдвига на границе раздела фланец-стенка. Это может быть не так, если выполняется анализ сечения с трещинами. В этой области проведено лишь ограниченное количество исследований. Как следствие, правила разработки кода значительно различаются от страны к стране и отражают ограниченность имеющихся знаний.Глубокие исследования этого явления были проведены в отношении поведения стенки диафрагмы Фиппсом в Соединенном Королевстве ͑ Фиппс и Монтегю 1986, и эта работа была …
Монолитная конструкция
Технология монолитного строительства известна во всем мире. По этой технологии возводятся многоэтажные дома и небоскребы. Ранее активный монолитный монтаж велся в сейсмических зонах, так как монолитная конструкция выдерживает высокие нагрузки (до 8 баллов) без разрушения.![]()
Разберемся, что такое монолитные дома, преимущества и недостатки постройки и процесса строительства.
Технология монолитного строительства
Суть технологии заключается в заливке железобетонных частей монолитного дома в процессе возведения. Заполнение промежутков между плитами можно производить любым доброкачественным (кирпич, блок, панель) или малопрочным материалом (дерево, ПВХ панель с утеплителем, стекло), так как на эту часть стены нет нагрузки.
В данной технологии предусмотрено несколько вариантов рамы:
- покрытие на опорных стойках
- Несущие продольные стены
- опорные поперечные стены
Армирование.
Арматурный каркас для монолитного дома изготавливается из стальных прутков разного диаметра. Все части каркаса свариваются или связываются. Но последний способ склеивания применяется редко, так как он более трудоемок и трудоемок.
Строительство опалубки.
Для этого корпуса используется круглая или несъемная опалубка. Конструкция из цоколя — это массивная звукоизоляционная панель (панельная опалубка) или сборная форма для заливки (туннельная опалубка), предотвращающая растекание бетонной смеси и позволяющая сохранить форму во время схватывания.
Варианты использования опалубки разные:
- горизонтальный
- вертикальный
- ползучий
- для закругленных элементов
Монолитные дома с несъемной опалубкой более популярны в многоквартирных домах.Это малоэтажные монолитные дома, коттеджи.
Бетонная смесь и затирка.
В зависимости от габаритов монолитной конструкции бетонная смесь может производиться непосредственно на строительной площадке в замесной шихте или на заводе специальных ЖБИ. Во втором случае бетон переносится в мотомешалку.
Работы с схватыванием бетона
После заливки бетон в опалубку уплотняется.
Этот шаг необходим для удаления воздушных пробок, наличие которых ухудшает работу смеси.Уплотнение бетонной смеси производится с помощью первибратора или внешнего вибратора. От качества измельчения бетонной смеси зависит гладкость поверхности стен и потолка, что также влияет на бюджет чистовой отделки.
Снятие формы
После того, как бетон наберет необходимую прочность, опалубку снимают и снимают, переходя к следующему этапу затирки.
Достоинства и недостатки
Монолитные дома имеют оба достоинства и недостатки.Давайте их различать. Скорость постройки — одно из главных преимуществ. Монолитные дома, проекты которых похожи на кирпичные, строятся быстрее, чем предыдущие. Архитектурная свобода — тоже веский аргумент. Большинство домов построено по определенной схеме, что определяется его конструктивными особенностями. Но для монолитного дома нет пределов. Планы в таких домах могут быть разными, многоуровневыми, с разной высотой потолков, что не характерно для блочных или кирпичных домов.
Полное отсутствие открытых стыков в монолитном доме дает ряд преимуществ, таких как:
- Повышение уровня звукоизоляции
- Улучшение теплоизоляции
- Дом продления жизни
- Увеличение силы
- защита от растрескивания
- снижение веса конструкции
Стоит обратить внимание на его недостатки.
Руководство архитектора по методам монолитного строительства
Архитекторы: Найдите исходные материалы для вашего следующего проекта через Architizer.Производители: ознакомьтесь с последними новостями строительства и зарегистрируйтесь сейчас .
Монолитные здания исторически использовались для обозначения постоянства, силы, верховенства закона и долговечности. Таким образом, масса в форме здания является одновременно символом больших общественных идеалов, а также эстетическим выбором. Однако современные технологии позволили архитекторам более дешево и быстро построить солидное здание, в связи с чем возникает вопрос: какова ценность действительно массивного здания в нашей архитектурной культуре сегодня?
Этот сборник обращается к различным технологиям массивного строительства, включая монолитный бетон, утрамбованный грунт, уложенные монолитные камни и кирпичную кладку, все с использованием материалов выраженной нагрузки.
Concrete Studio от Mell Lawrence Architects, Остин, Техас, США
Студийный дизайн для творческой семьи — игра двойственности; тяжесть бетона с прозрачностью стекла, твердость стены с мягкими краями ландшафта. Эта небольшая конструкция полностью состоит из заливного бетона с использованием специальной опалубки для создания повторяющейся внешней текстуры.
Modern Ruin by autotroph, Санта-Фе, Н.М., США
Этот особняк построен с использованием техники утрамбованной земли и отсылает к руинам, сооруженным много лет назад и сохранившимся. В массивной форме размещаются хозяйственные компоненты проекта, а жилые помещения — из обветренной стали.
ДОМ 1101 by HARQUITECTES, Сан-Кугат-дель-Валлес, Испания
В этом доме используется двойная двойная каменная кладка с несущими кирпичами естественного красного цвета снаружи и окрашенными в белый цвет внутри.Кубические формы дома соединены плавными переходами, которые можно полностью открывать наружу или закрывать от стихии.
Трюфель от Ensamble Studio, Коста-да-Морте, Испания
Это небольшое убежище, охватывающее слои земли, сделано из неармированного бетона, образованного путем наложения грунта снаружи и тщательно уложенных тюков сена в качестве держателей для внутреннего объема. Затем сено было убрано, а почва перераспределена без материальных отходов.
Дом 1014 от HARQUITECTES, Гранольерс, Испания
Этот проект расположен в историческом центре города и поэтому слишком чувствителен к масштабу и существующему контексту. Сохраняя исторический каменный фасад, эта реконструкция контрастирует с существующей тканью с несущими кирпичными стенами, столь же прочными, как и их предшественники.
Приморская библиотека от Vector Architects, Хэбэй Шэн, Китай
Легко сделать что-нибудь, что тяжелее выглядит тяжелее.В этой библиотеке на побережье Китая используется свет, чтобы ее массивная бетонная конструкция выглядела непривлекательной и маневренной.
Поиск производителей бетона
Найдите лучшие строительные продукты через Architizer: Нажмите здесь, чтобы зарегистрироваться сейчас . Вы производитель и хотите наладить контакт с архитекторами? Щелкните здесь .
Что такое фундамент из стволовой стены? | 2020
основы строительства жилищное строительство 01 июля 2020 г.Стеновые стены являются основой одного из пяти типов фундаментов домов, распространенных в Соединенных Штатах, — фундаментов для подвалов.Вот основы того, как эти короткие стены выдерживают большие дома.
Что такое стенка ствола?
Тип фундамента, распространенный на большей части территории Соединенных Штатов, стволовые стены короткие (до нескольких футов, или высоты подполья), прикреплены к бетонному основанию.
Они обычно используются в домах с пространствами для прогулок, вентилируемыми или невентилируемыми, и особенно распространены в Калифорнии, Техасе, Северо-Западе и Юге. Они также являются популярным выбором среди архитекторов, проектирующих дома в районах, где часто происходят землетрясения.
Стенки из стволов нельзя использовать в домах с полными подвалами, которые распространены на большей части Средней Атлантики и Северо-Востока, а также на Среднем Западе, или в тех, которые возвышаются на опорах, чтобы находиться выше уровня наводнения, как в случае построенных в некоторых прибрежных районах.
Каковы преимущества фундаментов стеновых стволов?
Есть много причин, по которым фундаменты подполья со стенками ствола являются обычным явлением. Вот несколько наиболее важных:
- Они прочные. Стены ствола передают нагрузку от дома к основанию (часто это раздвинутое основание с более широкой нижней частью), а затем она распределяется по большей площади.

- Они защищают сам дом. Подняв фундамент дома, его стены защищены от затопления и некоторых других опасностей окружающей среды.
- Они обеспечивают легкий доступ к водопроводу, электропроводке и другим механическим системам по сравнению с плиточным фундаментом.
- Конечным результатом может быть более красивый дом. Поднимая фундамент дома, поднимается вся конструкция.
Особый случай: Если участок, на котором вы строите, расположен на склоне, фундамент стены ствола имеет некоторые особые плюсы в том, что его высота может варьироваться в зависимости от отметки земли в разных точках.(В таких ситуациях количество бетона, необходимое для плиточного фундамента, может быстро стать дорогим.)
Как сооружаются фундаментные стены?
Несмотря на то, что существуют разные конструкции стенок ствола, несколько первых шагов являются общими для всех из них:
- Очистить сайт.
Удалите все растения, а также прочий мусор. Вам нужно удалить все большие пни, а также подтвердить у местных властей, что деревья на участке не защищены. - Уплотните земляное полотно. Используйте пластинчатый уплотнитель и при необходимости внесите в почву добавки (например, гравий), чтобы получить достаточно плотную и однородную почву для вашего проекта. Для больших проектов вам понадобится только крупное оборудование, такое как ролики.
- Залить фундамент дома. Эти бетонные основания для стен ствола должны быть минимум на 12 дюймов ниже линии ненарушенного грунта и на 12 дюймов ниже линии промерзания (или они должны быть защищены от промерзания).Они также должны быть минимум 12 дюймов в ширину. Точные размеры опор могут отличаться и будут частично зависеть от типа почвы на участке. Если вы строите на материале с высокой несущей способностью (LBV), например на скальной породе, ваши опоры могут быть меньше, чем на участке с песчаным грунтом, который имеет низкую LBV.

Несущие стены из бетона иногда называют «фундаментом с двумя бетонными стенами». Первая заливка предназначена для опоры, а вторая — для самих стенок ствола.
Во время строительства стен ствола над опорой необходимо использовать вертикальные стержни, чтобы гарантировать, что стены не соскальзывают с опоры (особая проблема в зонах, подверженных землетрясениям).
После того, как вы построили стену ствола, вы можете прикрепить подоконник (структурное основание каркаса дома) к стене ствола с помощью анкерных болтов (их количество и размер обычно определяется местными строительными нормами).
Из чего сделаны фундаменты стеновых стволов?
Каркасные стены чаще всего возводятся из кирпичной кладки (КМУ или шлакоблоки) или из бетона.Заливные бетонные стены обладают преимуществом большей общей прочности, что может быть необходимо в некоторых районах с сильными ветрами, а также в зонах затопления. Однако они требуют больших усилий и затрат, поскольку требуют создания форм и распорок.
Стены бетонных стволов также могут потребовать дополнительных визитов инспекторов.
Некоторые считают стволовые стены из обработанной консервантом древесины (также известные как «пони-стены») менее дорогим решением в некоторых конструкциях — например, на участках с хорошим дренажем и в удаленных местах, где транспортировка бетона может быть невозможна.Для защиты древесины необходимы антипаровые добавки и другие виды обработки.
В чем разница между стеной ствола и монолитным фундаментом?
Распространенной альтернативой стенам из стволов, по крайней мере в некоторых более теплых частях США, являются монолитные фундаменты, иногда называемые монопластами. При монолитном бетонном фундаменте по тем участкам, которые будут поддерживать несущие стены, заливается единая плита увеличенной толщины.
Основное преимущество монолитных фундаментов в том, что они дешевле и быстрее возводятся, так как за один раз заливается весь фундамент.Поскольку в зданиях с монолитным фундаментом нет места для подполья, будущему домовладельцу остается на одну вещь меньше.
Монолитные фундаменты обычно используются в районах, где земля никогда не замерзает, и чаще встречаются в тропических регионах — в некоторых странах большинство домов строится с использованием этого метода. Однако в большей части Соединенных Штатов они ограничены хозяйственными постройками, такими как садовые навесы или гаражи. Тем не менее, были достигнуты успехи в проектировании изолированных плит, также известных как защищенные от замерзания фундаменты неглубокого заложения (FPSF), что расширило возможности их использования в областях, где температура опускается ниже нуля.
Даже в теплом климате монолитные плиты могут не подходить там, где грунт недостаточно уплотнен. Они также могут иметь тенденцию к растрескиванию на участках под несущими стенами.
MT Copeland предлагает онлайн-классы на основе видео, которые дают вам фундамент в области строительства с использованием реальных приложений. Классы включают профессионально подготовленные видеоролики, преподаваемые практикующими мастерами, и дополнительные загрузки, такие как викторины, чертежи и другие материалы, которые помогут вам овладеть навыками.
Оставайтесь на связи!
Присоединяйтесь к нашему списку рассылки, чтобы получать последние новости и ранний доступ к нашим занятиям. Ваша информация не будет передана.
Исследование строительства монолитного фундамента| Скотч-Плейнс, штат Нью-Джерси, участок
Этот пост был предоставлен участником сообщества. Мнения, выраженные здесь, принадлежат автору.
Некоторое время мы избегали этой темы.Посмотрим правде в глаза, домашние фонды так же увлекательны, как разговоры о выращивании вашей травы. Что касается цокольных этажей, то есть два типа фундаментов — монолитные и стандартные. Некоторые люди назовут монолитный плавающим фундаментом, а другие — стандартным фундаментом с нижним колонтитулом. Тем не менее, вот краткое определение обоих.
Подписаться
- Монолитные плиты — это системы фундамента, построенные как одна бетонная заливка, состоящая из бетонной плиты с утолщенными частями плиты под несущими стенами и краями по всему периметру, которые заменяют нижние колонтитулы.

- Стандартные плиты — это системы фундамента, состоящие из трех компонентов; нижний колонтитул для передачи нагрузки на подстилающий грунт, кладочный фундамент и залитую плиту.
Подписаться
Монолитные фундаменты возвести очень просто. Все это можно сделать за один день.
Монолитный фундамент (MF)
Монолитный означает «все в одном заливе». Это означает, что опоры и пол заливаются одним выстрелом.
Глубина
Глубина монолитного фундамента составляет всего 12 дюймов. Это измеряется от дна отверстия до монолитного определения: «Имея массивную однородную структуру, не допускающую индивидуальных вариаций», согласно Стандартному словарю Funk & Wagnall.
При правильном армировании это основа выбора с точки зрения стоимости, скорости и структуры. Его также легче всего передать. Когда бетон заливается целиком и подкрепляется достаточным количеством стали, чтобы не расслаиваться, это, безусловно, лучший выбор.
Без армирования швов и холодных стыков не бывает. Сборные опоры не используются.
Монолитный: Определение монолитного плиточного фундамента: заливные бетонные основания и бетонный пол заливаются одновременно как одна непрерывная система.
Земляные работы и бетонные опалубки используются для формирования частей фундамента и стен фундамента конструкции. Поддерживаемые плиты — (см. Плиту на иллюстрации уклона выше)
Определение фундамента из поддерживаемой плиты: заливная бетонная плита опирается на опору / фундамент / штифты.Уязвимы к микротрещинам ступенек в стенах блоков, которые опираются на плиту; (FL за Марка Крамера). Трещины от микротрещин до 3/16 обычно в верхней части перекрытия.
Бетонное покрытие или пол, поверхностный слой которого сформирован как единое целое с плитой внизу.
Взгляды, выраженные в этом сообщении, принадлежат автору. Хотите опубликовать в патче? Зарегистрируйте учетную запись пользователя.







Устанавливается с помощью кронштейнов, стоек и соединительных замков;
После того как слой бетона застыл, опалубку переставляют выше, для заливки следующего слоя. Так повторяют возведения необходимой высоты стены.


5
0
Избегать
использование чистого чернохлопкового грунта для строительства
потому что он сильно сжимается при высыхании, что приводит к растрескиванию
и искажение.Глинистые почвы должны быть стабилизированы
известь, потому что цемент показал плохие результаты для этих
почвы.
Удалите все растения, а также прочий мусор. Вам нужно удалить все большие пни, а также подтвердить у местных властей, что деревья на участке не защищены.